Donald Mitchell Profile picture
Mar 2, 2020 6 tweets 3 min read Read on X
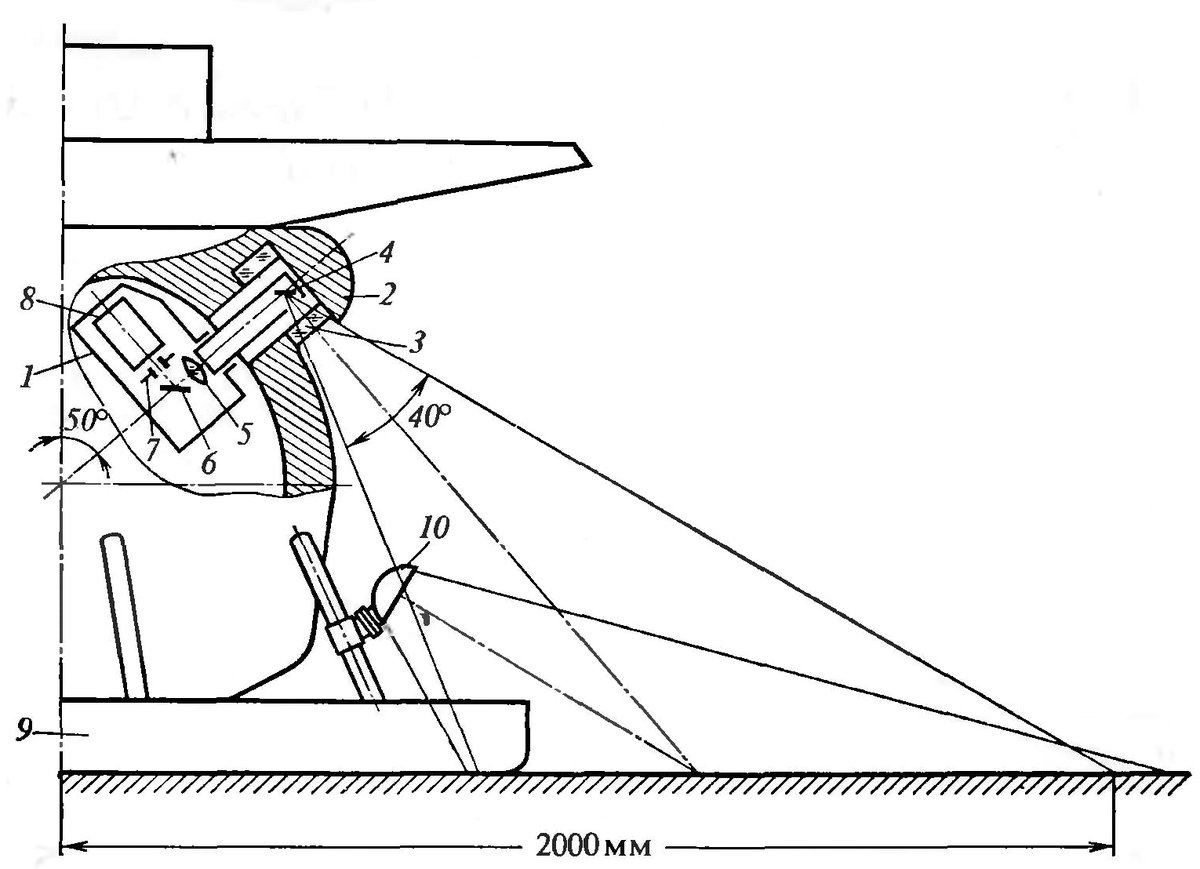
Venera-13 and 14 landed on Venus in 1982 (March 1 and 5 respectively). The lander was contained in the spherical heat shield seen at the top of the spacecraft. The full spacecraft was over 4 tons, launched by the Soviet Union's large Proton rocket.
The lander housed a number of scientific experiments in a spherical titanium pressure vessel, surrounded by silica insulation. Temperature inside was also controlled by a phase change material that absorbed heat as it melted.
A drilling apparatus collected rock to be analyzed by X-ray fluorescence. The electric motor was designed to operate only after its parts had expanded at 460 C.
The mechanical scanning camera slowly swept out a wide panoramic image, measuring brightness with a photo multiplier tube and digitizing it to 9 bits per pixel. Each probe had two cameras.
This cameras swept back and forth, sometimes dropping red, green or blue glass filters to get color readings and sometimes with no filters.
Combining all this information, we can get two partly-colored panoramas from each landing site.

• • •

Missing some Tweet in this thread? You can try to force a refresh
 

Keep Current with Donald Mitchell

Donald Mitchell Profile picture

Stay in touch and get notified when new unrolls are available from this author!

Read all threads

This Thread may be Removed Anytime!

PDF

Twitter may remove this content at anytime! Save it as PDF for later use!

Try unrolling a thread yourself!

how to unroll video
  1. Follow @ThreadReaderApp to mention us!

  2. From a Twitter thread mention us with a keyword "unroll"
@threadreaderapp unroll

Practice here first or read more on our help page!

More from @DonaldPMitchell

Sep 6, 2021
The Soviet R-7 icbm was almost three times the size of the American Atlas, designed to carry a heavy hydrogen bomb. Let's digress into the history of the Soviet H-Bomb.
The core of RDS-1, the first Soviet A-bomb, a 22 kiloton fission device. Russian physicists were hoping to play a more creative role, but Beria ordered them to build copies of the American bombs, whose plans had been delivered by the Rosenberg spy ring.
A-bomb concepts: a lens of low-speed explosive focuses shock waves into a 400,000-atmosphere implosion. Hollow ball of plutonium compressed into solid nugget, twice normal density. Air gap gives shock time to accelerate. Tritium fusion generate burst of triggering neutrons.
Read 10 tweets
Nov 10, 2020
November 10, 1970, the Soviet Union launched the first lunar rover called Lunokhod. Seen here is an illustration of the upper stage of the Proton rocket, carrying the landing platform and the rover. Image
The rover's batteries were charged by gallium arsenide solar panels. It had four cycloramic cameras that scanned panoramic images, and two television cameras in front used for navigation. The wheel and motor assembly, and the cycloramic camera shown here. ImageImageImage
The rover landed on the 17th in the Mare Ibrium (sea of rains). It was operated remotely from a control center in Simferopol, Crimea. Traveling at a speed of 1/3 meter per sec, it would move 2 to 8 meters, then stop while pilots assessed images and planned the next move. ImageImage
Read 6 tweets
Mar 3, 2020
Through friends in the Russian science community, I was able to get the raw telemetry from Venera-13 and 14. I funded its recovery from old tapes and conversion to TIF format. It consisted of multiple transmissions with considerable noise.
For redundancy, the radio system used two completely different schemes: pulse code modulation at decimeter wavelength, and an old system of pulse-position modulation at centimeter wavelength (with orthogonal coding).
Comparing the two versions, one can reconstruct a remapping that repairs many of the bad pixels in the PPM version. This is especially valuable near the end of the transmission, where the PPM signal was much better than the PCM signal, which became very noisy.
Read 7 tweets
Feb 4, 2020
Let's talk about the Relativistic Rocket Equation.

This can be used to study the problem of reaching very high speeds for interstellar travel...
As a rocket consumes its fuel, it becomes lighter and accelerates faster. It's a simple calculus problem to find the final speed V, given the final mass M and initial fully-fueled mass M1, and the exhaust velocity Vex.

This is Tsiolkovsky's classical rocket equation: Image
The equations tells us two important things about rocket design: 1) the structure should be made as light as possible so M1/M is big, 2) the exhaust velocity should be as high as possible.
Read 16 tweets
Feb 2, 2020
Came across some of my old CCITT/OSI books. I think the theory of the OSI stack is still taught in the classroom, but I suspect a lot of the lore will be forgotten.
The Internet was starting to spread rapidly in the 1980s. Finland was buying CISCO routers like crazy. In the USA, TCP/IP was taking over as the preferred network protocol. But in Europe and Japan, there was a decision to define their own data network standard.
This was OSI, and it had at least one elegant theoretical idea, which was the protocol stack -- a logical layers of how you go from copper wires to network applications.
Read 15 tweets
Sep 5, 2019
Soviet flight computer S-530 built by NPO AP (Automatics and Instrument Building). 100 KHz clock, 45,000 operations per second. This was used in the 1970s and 1980s to control Mars and Venus probes. Here is one of two redundant arithmetic-logic units.
8K of 20-bit micro-program instruction ROM was implemented as core-rope memory. Wires threaded thru or around sensors represented rows of 1's and 0's. The large power transistors driving it were the cause of failure in Mars-4,5,6, and 7 in 1973.
13-bit data memory had 256 words of ferrite core RAM and 2K words of core-rope ROM.
Read 4 tweets

Did Thread Reader help you today?

Support us! We are indie developers!


This site is made by just two indie developers on a laptop doing marketing, support and development! Read more about the story.

Become a Premium Member ($3/month or $30/year) and get exclusive features!

Become Premium

Don't want to be a Premium member but still want to support us?

Make a small donation by buying us coffee ($5) or help with server cost ($10)

Donate via Paypal

Or Donate anonymously using crypto!

Ethereum

0xfe58350B80634f60Fa6Dc149a72b4DFbc17D341E copy

Bitcoin

3ATGMxNzCUFzxpMCHL5sWSt4DVtS8UqXpi copy

Thank you for your support!

Follow Us!

:(