How to get URL link on X (Twitter) App
https://twitter.com/alna_cos/status/2008383899043569754BMIは体重を身長で2回割って算出する。
https://twitter.com/TheCleanCarClub/status/1858852949268615672まず。

金メダルはこれか。https://x.com/ViktorAxelsen/status/1822588512337617082
https://twitter.com/girlmeetsNG/status/1762238240214352324欧州ではずっと「分数」でものを考えてきた。これは60進法とも上手く合ってて、整数を使うときでも「12」や「60」が好まれた。
https://x.com/rei_software/status/1575272228840951808
https://twitter.com/yukiusagi681/status/1730534705357873551
年齢、人種や性別、民族などで様々な分布を持っている。おおよそ「ひざ下」と思っていい。https://twitter.com/MMondeSelection/status/1729770705623949401まとめると。
https://twitter.com/red_mattsun/status/1717891355731705946ざらざらしてるでしょ
https://twitter.com/novlude/status/17167523832405074361860年に「カールスルーエ国際会議」が開かれた。
https://twitter.com/bar_paradis/status/1706827389672751368柑橘は後期中新世あたりに成立した
https://twitter.com/angustifrons/status/1630751234658533376
登記サービスだったら出てくるかもしれないけど、
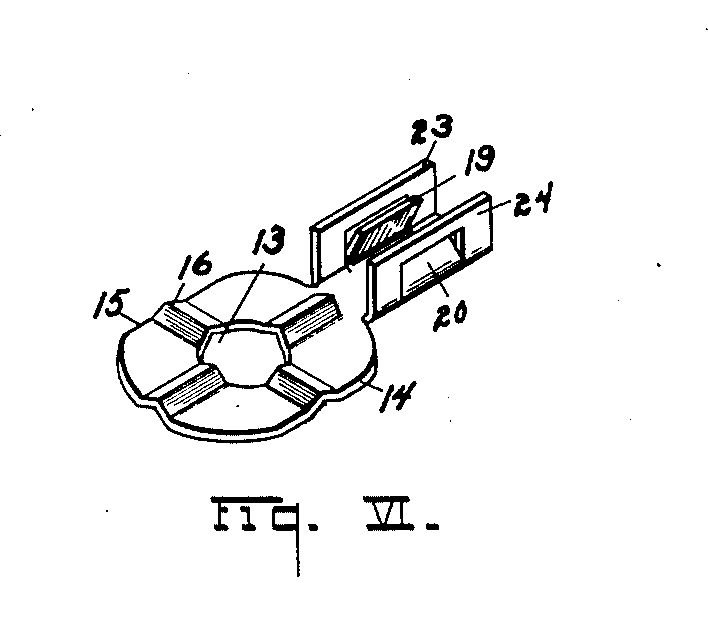
https://twitter.com/s5ml/status/1630135541126807553これ。
https://twitter.com/KaneMiki/status/1630887994197528578
https://twitter.com/novlude/status/1627553712590962688ガラス転移は複雑で難しいけど、食品ではよくでてくる。
https://twitter.com/tundoc/status/1627527302656712707ボケたばあちゃんには洗濯物を畳んでもらったり、レジ袋を畳んでもらったり、仕事を上げてました。
https://twitter.com/denchigoku/status/1627474113454567425最終的には電極に使ってるアルミの燃焼カロリーが大きい。リチウムイオン電池1kgあたり30g程度のアルミを使っているとすると…1.6MJ/kgくらい。これに満充電のエネルギーも入れて、おおよそ2MJ/kg。
https://twitter.com/architect_kyo/status/1626067943468728320このあいだの