An enhanced Infinity Fabric is coming...
More details: freepatentsonline.com/20200186166.pdf



More details: freepatentsonline.com/20200186832.pdf



Say goodbye to the delid industry!
More details: freepatentsonline.com/20200185294.pdf



More details: freepatentsonline.com/20200192631.pdf


Gen-Z...
More details: freepatentsonline.com/20200192853.pdf



The foundations of AMD MCM GPUs...
More details: freepatentsonline.com/20200195546.pdf



More details: freepatentsonline.com/20200193268.pdf



AMD CCIX IP solution...
More details: freepatentsonline.com/20200192852.pdf



Say hello to MASSIVE L4...
More details: freepatentsonline.com/20200192802.pdf



More details: freepatentsonline.com/20200195944.pdf



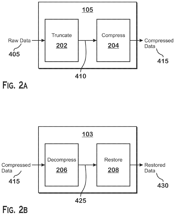
Lossy compression and restoration of data for Machine Learning applications and faster data transmission...
More details: freepatentsonline.com/20200195273.pdf



CCIX everywhere...
More details: freepatentsonline.com/20200192842.pdf



Memory foundations for EHP...
More details: freepatentsonline.com/20200192809.pdf


"Method for efficiently compress data by dropping bytes of a cache line which are not predicted to be accessed."
More details: freepatentsonline.com/20200192671.pdf


An extremely necessary mechanism for the development of multiple 3d stacked dices...
More details: freepatentsonline.com/20200203332.pdf



More details: freepatentsonline.com/20200202180.pdf






























