RDNA2...
More details: freepatentsonline.com/20200250787.pdf



Efficient bitrate control of video compression for VR
More details: freepatentsonline.com/20200252611.pdf



More details: freepatentsonline.com/20180374853.pdf


"A technique for efficient time-division of resources in a virtualized GPUs"
More details: freepatentsonline.com/20190004839.pdf


An enhanced dynamic uncore DVFS system is coming...
More details: freepatentsonline.com/20200153757.pdf



"A method to enhance perf and perf-per-watt of DNNs by determining error values of samples within an input volume that is provided to the DNN during an epoch."
More details: freepatentsonline.com/20200151573.pdf



"A system that performs training operations for a neural network using analog circuit element functional block (eg. phase-change elements, memristors...)"
More details: freepatentsonline.com/20200151572.pdf

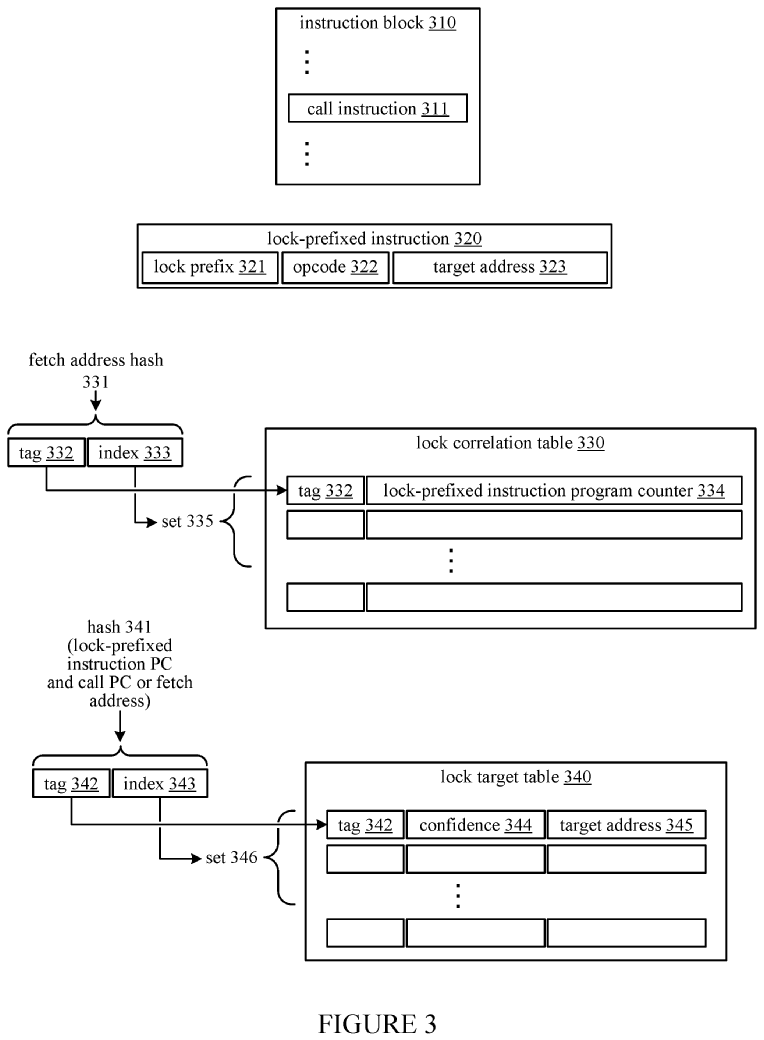
A method for prefetching target data for a lock-prefixed operations...
More details: freepatentsonline.com/20200151100.pdf



Improving system performance by conducting reuse of mini-batches and reducing CPU-to-GPU communication.
More details: freepatentsonline.com/20200151510.pdf



A long-awaited wakeup latency solution patent for Zen3...
More details: freepatentsonline.com/10656696.pdf



Configurable IHS for liquid cooling...
More details: freepatentsonline.com/20200161215.pdf



Methods for performing debug operations via a secure coprocessor which implements the page table walk without incurring multiple round-trip communication delays...
More details: freepatentsonline.com/20200158778.pdf



"This family of instructions optimizes processor performance for dynamic sparsity that is encountered during DNN training and inference."
More details: freepatentsonline.com/20200159529.pdf



"Techniques to improve intra-wavefront data exchange by determining what pattern of data exchange is represented before matching with HW-accelerated exchange patterns."
More details: freepatentsonline.com/10664285.pdf



"Techniques for adjusting a cache replacement priority based on evictions of entries mapping virtual-to-physical address translations from a TLB."
More details: freepatentsonline.com/20200242049.pdf



More details: freepatentsonline.com/10719441.pdf



More details: freepatentsonline.com/20200167999.pdf






































