#Tesla Solar Roof/Panel

☀️테슬라의 가정용 태양광 지붕/패널
📌 Solar Roof는 2016년 10월 29일에 Powerwall2와 함께 발표하였음.
🏘 Solar Roof와 Panel이 있는데 Roof는 기존 지붕을 패널로 대체하는 일체형, Panel은 기존 지붕위에 패널을 얹는 형태.
⚡️ Roof/Panel의 태양광에너지를 가정용 배터리인 Powerwall에 저장. ImageImageImageImage
👁 지붕에 설치되는 기존 타사 태양광 패널은 아름답지 못하며 태양의 빛 반사로 인해 사람눈에 치명적.

📄 테슬라 특허 문서에 따르면 Tesla Solar Roof(Panel)은 낮은 각도로 사람에게 빛이 불투명해 보이면서도 위 햇빛(태양광)에 대해서는 100% 효율. Image
🔨 Solar Roof 타일은 일반 지붕 타일보다 3배 이상 강하며 (우박 등)으로 부터 보호를 위해 설계 되었음.

💵 보증도 업계에서 가장 긴 25년 보증.(미국 한정)
🏘 설치 계약금은 $1,000 정도이며 400,000개의 지붕에 3.6GW 이상의 청정 태양 에너지를 설치한 Tesla의 설치 전문팀이 지붕 디자인, 전원셋팅까지 모두 설치해줌.
🏠 Solar Panel의 경우 기존 기붕위에 설치.

🕳 패널과 패널사의 지점은 비, 눈, 얼음으로부터 보호하기 위해 전선등이 노출되어 있지 않고 밀봉되어 있음.
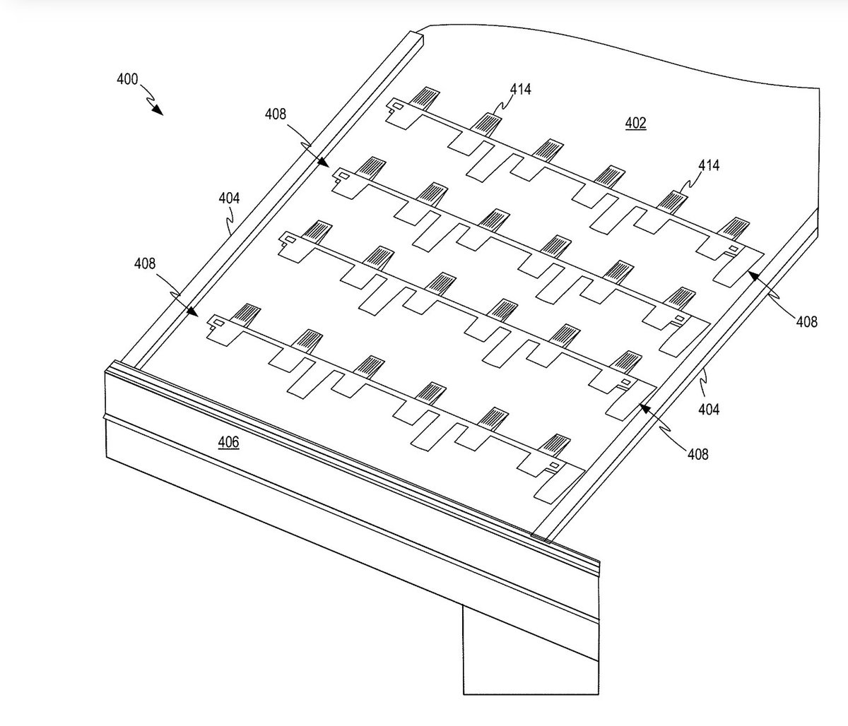
⏰ 설치기간(2주)을 줄이기 위해 태양광 지중 타일 지지대라는 특허를 출원하였는데 바로 전 타래처럼 통합배선(모듈러 형태로 백본을 최소화)이 들어간 힌지형 솔라/장착 프레임.

⏰ 캐스케이드 셀 배열로 전도성 접착체를 빠르게 경화 시키고 균일한 태양광효율을 발생. ImageImageImageImage
📱 설치후 모니터링, 전력컨트롤 등의 상황은 Tesla Solar앱으로 모두 작동하며 Powerwall도 함께 컨트롤.
💵 Solar Roof/Panel 모델은 여러디자인으로 출시 되었으나 현재는 단일모델로만 판매중.
📖 둘다 25년 보증.(통합 인버터는 12.5년 보증) ImageImage

• • •

Missing some Tweet in this thread? You can try to force a refresh
 

Keep Current with ATOMIC🪐TESLA

ATOMIC🪐TESLA Profile picture

Stay in touch and get notified when new unrolls are available from this author!

Read all threads

This Thread may be Removed Anytime!

PDF

Twitter may remove this content at anytime! Save it as PDF for later use!

Try unrolling a thread yourself!

how to unroll video
  1. Follow @ThreadReaderApp to mention us!

  2. From a Twitter thread mention us with a keyword "unroll"
@threadreaderapp unroll

Practice here first or read more on our help page!

More from @atomicTSLA

Jun 25
[@SpaceX의 Dragon 2(크루 드래곤)

🧑‍🚀 SpaceX가 운영중인 유인우주선.
(Dragon 1은 화물 우주선으로 2020년 퇴역하였음)
🧑‍🚀 총 7명이 탑승가능한 유인우주선으로 팰콘 9의 최상단 페어링에 탑재함.
📦 화물도 수송이 가능한데 화물 수송선은 Cargo Dragon, 유인 수송선은 Crew Dragon 이라 칭함.
🪂 초기 컨셉은 첫 영상과 같이 역추진 로켓으로 착륙하는것이었으나 낙하산 사용하는것으로 변경됨. ImageImageImageImage
[실내]

🕹 기본적으로 컴퓨터가 모든 컨트롤을 해서 Crew(승무원)가 조종을 하지 않지만 비상상황시 조종을 하는데 터치 스크린의 소프트웨어가 오작동이 발생하면 무용지물.
📱 그래서 대부분 하드웨어 버튼인데 @SpaceX는 터치스크린.(기술력과 자신감)
Read 7 tweets
Jun 24
[AUTONOMY DAY]

(2019년 4월 23일 #Tesla 오토노미데이) Image
👥 2016년에 팀을 꾸리기 시작.
🏭 2018년 7월부터 AI chip을 생산하며 12월에 직원 테스트차량에 테스트.
🚘 2019년 4월부터 모델3 생산차량에 장착. ImageImageImageImage
2️⃣ FSD 컴퓨터의 chip은 듀얼로 구성되어 각각 독립되어 부팅되며 각 카메라의 센서위치가 chip마다 다르게 구성.

🧠 두가지의 chip의 결과를 비교하여 정합성이 높은 결과를 ACT.(사용) ImageImageImageImage
Read 15 tweets
Jun 21
[#Tesla Powepack/Megapack]

⚡️테슬라의 상업용 에너지 저장장치
📌 용도와 용량에 따라 Powerpack/Megapack으로 나뉨.
📌 Powerpack은 소규모 상업시설, 회사, 지역전력용이며 저장용량은 1pack당 232kWh.
📌 Megapack은 국가/주단위 에너지 전력시설용으로 1pack당 3MWh(3000kWh). ImageImageImage
👨‍💻 Powerpack/Megapack 모두 Tesla의 에너지 소프트웨어를 기본으로 제공.

⚡️ PowerHub : 저장/발전/분산 통합관리를 위한 모니터링/제어 플랫폼.
💵 Microgird Controller : 에너지원을 실시간 제어하여 비용절감.
💻 Opticaster : 머신너링을 활용 실시간 전력예측. ImageImageImageImage
Read 7 tweets
Jun 15
[#Tesla Powerwall]

⚡️테슬라의 가정용 에너지 저장장치
📌 @Tesla 의 에너지 계획은 생산과 저장으로 나뉨. 그중 생산은 태양광을 이용한 패널과 지붕으로 나뉘며 생산한 에너지를 저장하는 저장장치가 있음.
📌 저장장치에는 Powerwall(가정용)과 Powerpack/Megapack(상업용)으로 나뉨. ImageImageImageImage
🔋 가정용 저장장치인 Powerwall은 태양광 패널이 전기를 생산한것을 저장(리튬이온 배터리로 충전)하거나 태양광 패널이 전기를 생산하지 않는 밤에는 전력망으로부터 전기를 저장.
Read 9 tweets
Jun 13
[@SpaceX의 Falcon Heavy(팰컨헤비)]

Falcon 9 양옆에 스트랩 온 부스터 역할을 하는 2개의 Falcon 9 1단을 붙여 구성(도합 총 27개의 랩터 로켓엔진).
팰콘 헤비는 현재 운용되고 있는 발사체 중 가장 많은 페이로드 용량을 보유함.
[진행과정]

- 팰컨 9 시험 비행 성공 후 1년 후 팰컨 헤비 프로젝트가 공개됨(2011년).
- 팰컨 헤비는 @elonmusk와 민간자본으로 개발하였으며 $ 500m 소요. (정부지원은 없었음) Image
- 2015년 6월 CRS-7 미션중 팰컨 9이 폭발 사고로 인해 오랜기간 지연되었고 2017년 9월2일에 @elonmusk 는 조립중인 팰컨 헤비를 공개하였음. (스크린샷)
- 2018년 1월 29일로 다시 연기됐고 조금 땡겨진 1월 25일 연소 테스트에 성공함. (최종발사는 2018년 2월6일로 확정) ImageImageImage
Read 7 tweets
Jun 10
[#Tesla ATV(Cyberquad)]
CYBERTRUCK을 소개할때 vault의 후면 게이트를 내려서 ATV를 태우면서 소개됨.
“사이버트럭 구매자에게 옵션 형태로 제공될 것이다” 라고 하였지만 22년 #Tesla shop에서 따로 판매하는 형식으로 변경됨.
[Cyberquad for kid]

- 8~12세 어린이용.(성인도 이용가능)
- 가격은 $1900.
- 해당 사이트에서 구매 가능하지만 나오자마자 sold-out되었음.
- 재개시점은 미정.

shop.tesla.com/product/cyberq…
Read 7 tweets

Did Thread Reader help you today?

Support us! We are indie developers!


This site is made by just two indie developers on a laptop doing marketing, support and development! Read more about the story.

Become a Premium Member ($3/month or $30/year) and get exclusive features!

Become Premium

Don't want to be a Premium member but still want to support us?

Make a small donation by buying us coffee ($5) or help with server cost ($10)

Donate via Paypal

Or Donate anonymously using crypto!

Ethereum

0xfe58350B80634f60Fa6Dc149a72b4DFbc17D341E copy

Bitcoin

3ATGMxNzCUFzxpMCHL5sWSt4DVtS8UqXpi copy

Thank you for your support!

Follow Us on Twitter!

:(