Underfox Profile picture
22 Nov, 25 tweets, 25 min read
Here is Xilinx's long-awaited list of patents, highlighting the latest developments that may be interesting for future AMD projects. (1/3)

Follow the thread! 🦊
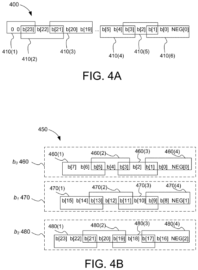
Patent: Dynamically structured single instruction, multiple data (SIMD) instructions - Xilinx

This patent could be very interesting applied to future generations of CDNA...

More details: freepatentsonline.com/10824434.pdf
Patent: Method of selecting routing resources in a multi-chip integrated circuit device - Xilinx

More details: freepatentsonline.com/20190258767.pdf
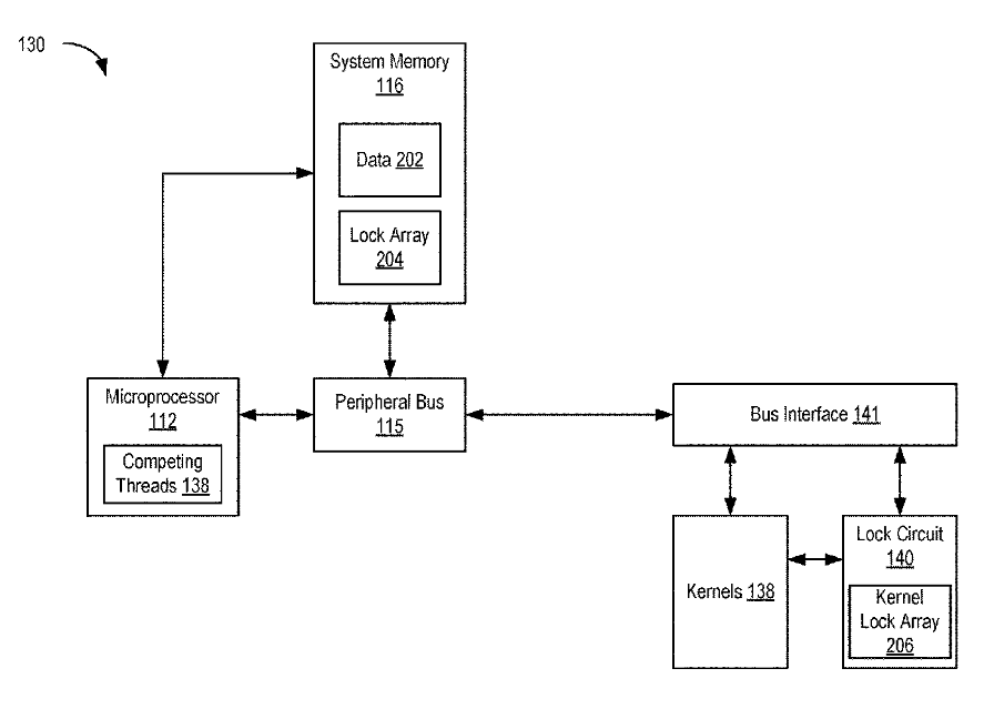
Patent: Lock circuit for competing kernels in a hardware accelerator - Xilinx

More details: freepatentsonline.com/10719464.pdf
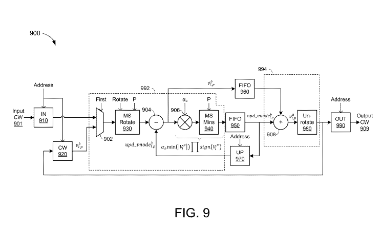
Patent: Low-density parity check decoder using encoded no-operation instructions - Xilinx

More details: freepatentsonline.com/10833704.pdf
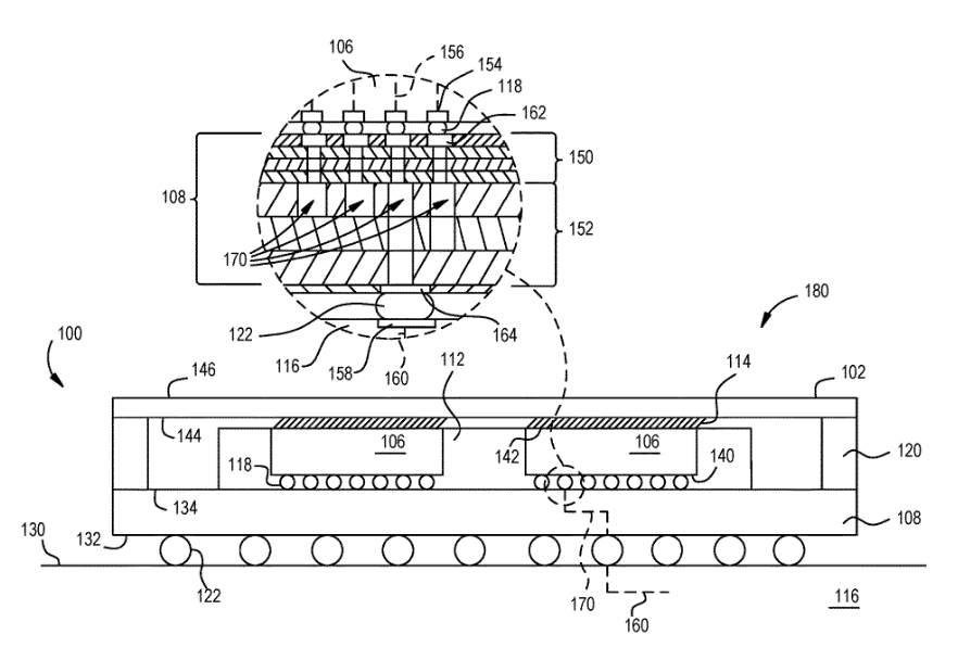
Patent: Circuit for and method of transmitting a signal in an integrated circuit device - Xilinx

The aggregation of a 3D-IC FPGA/accelerator in the evolution of EHP design is not far off...

More details: freepatentsonline.com/10804255.pdf
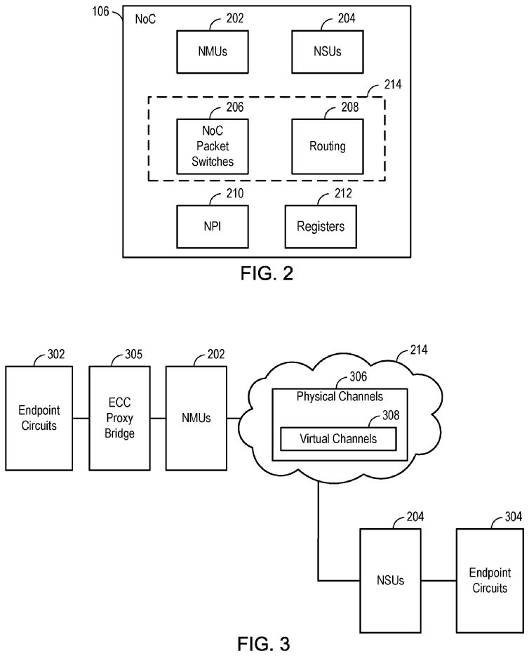
Patent: ECC proxy extension and byte organization for multi-master systems -Xilinx

More details: freepatentsonline.com/10824505.pdf
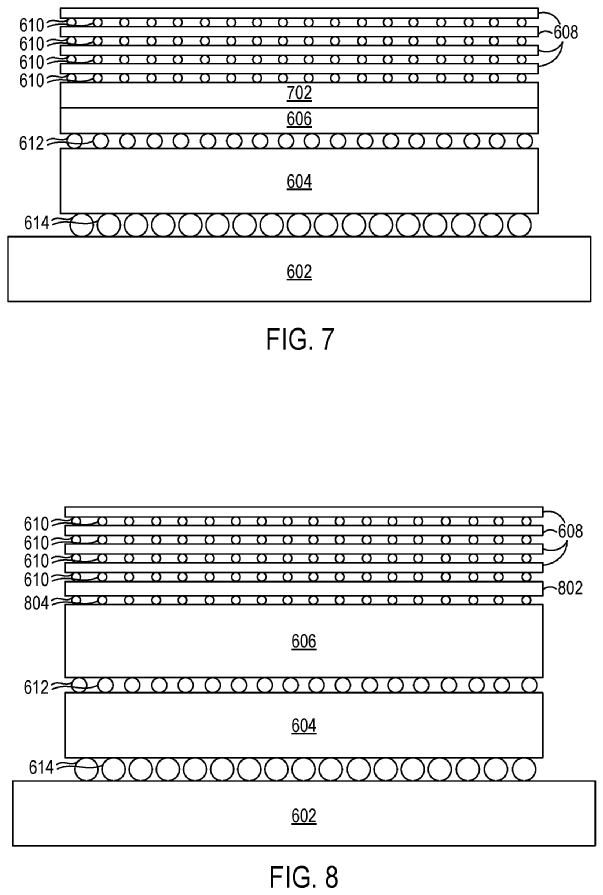
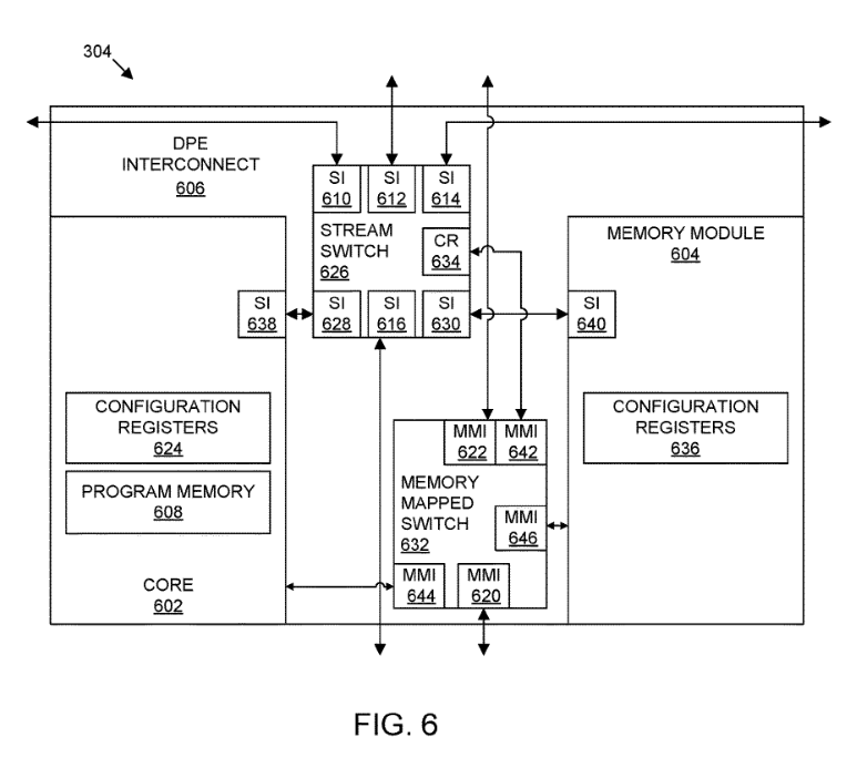
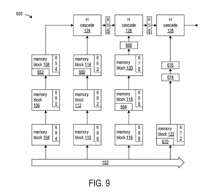
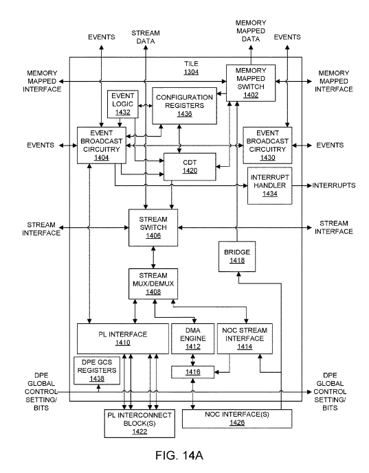
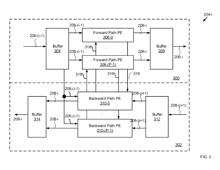
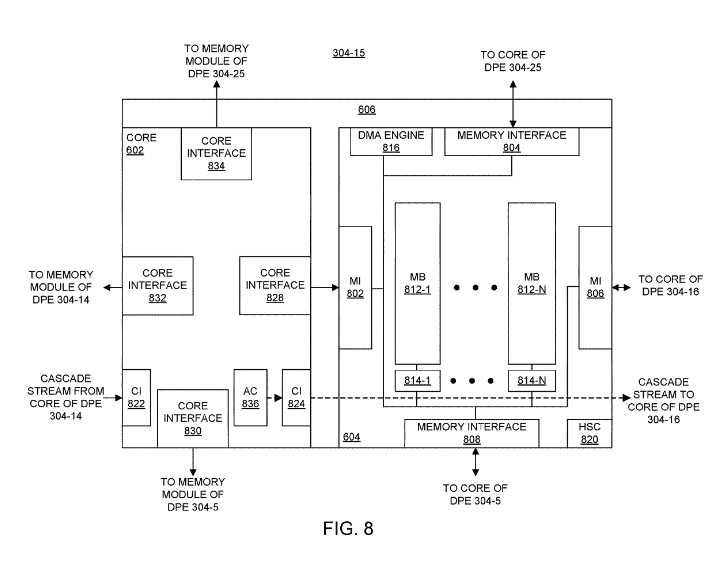
Patent: Device with data processing engine array - Xilinx

A new DSP architecture to meet the demand for 5G, Machine Lerning and more...

More details: freepatentsonline.com/20190303311.pdf
Patent: Machine learning model updates to ML accelerators - Xilinx

More details: freepatentsonline.com/20200341941.pdf
Patent: Multi-chip structure including a memory die stacked on die having programmable integrated circuit - Xilinx

More details: freepatentsonline.com/20200343234.pdf
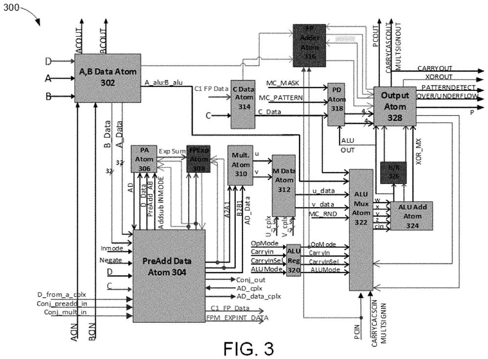
Patent: Digital signal processing block - Xilinx

More details: freepatentsonline.com/10673438.pdf
Patent: Transparent port aggregation in multi-chip transport protocols - Xilinx

More details: freepatentsonline.com/10664422.pdf
Patent: High density substrate and stacked silicon package assembly having the same - Xilinx

More details: freepatentsonline.com/20200161229.pdf
Patent: Automatic pipelining of memory circuits - Xilinx

More details: freepatentsonline.com/10664561.pdf
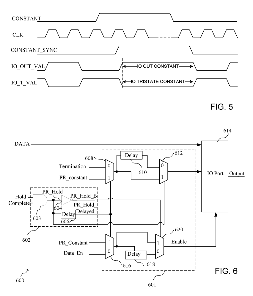
Patent: Circuit and method for ensuring a stable IO interface during partial reconfiguration of a reprogrammable integrated circuit device - Xilinx

More details: freepatentsonline.com/10541686.pdf
Patent: Configuration engine for a programmable circuit - Xilinx

More details: freepatentsonline.com/10666266.pdf
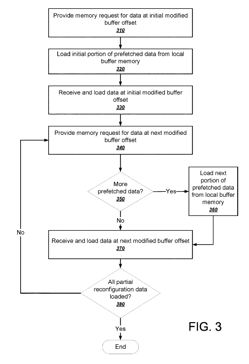
Patent: Prefetching partial bitstreams - Xilinx

More details: freepatentsonline.com/10657060.pdf
Patent: Glitch-free wide supply range transceiver for integrated circuits - Xilinx

More details: freepatentsonline.com/10484041.pdf
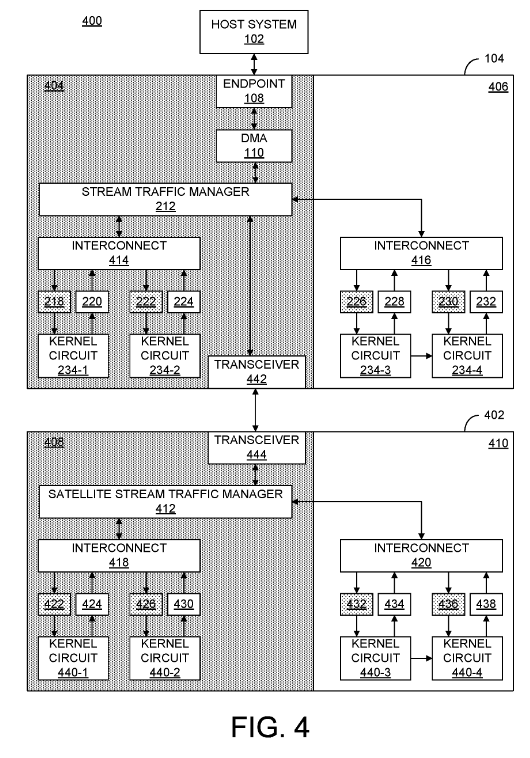
Patent: Streaming platform flow and architecture - Xilinx

More details: freepatentsonline.com/20200153756.pdf
Patent: Streaming platform architecture for inter-kernel circuit communication for an integrated circuit - Xilinx

More details: freepatentsonline.com/20200151120.pdf
Patent: System and method for implementing neural networks in integrated circuits - Xilinx

More details: freepatentsonline.com/20190080223.pdf
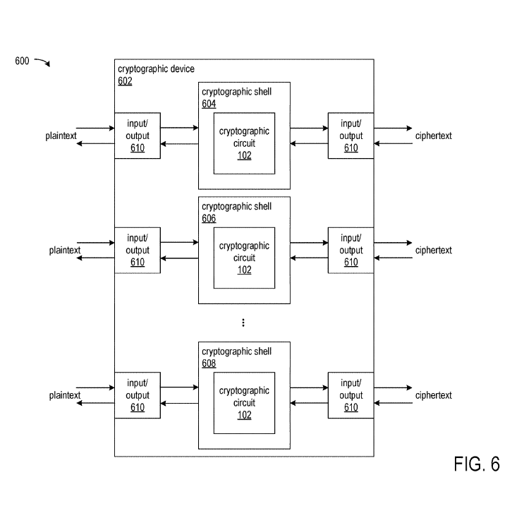
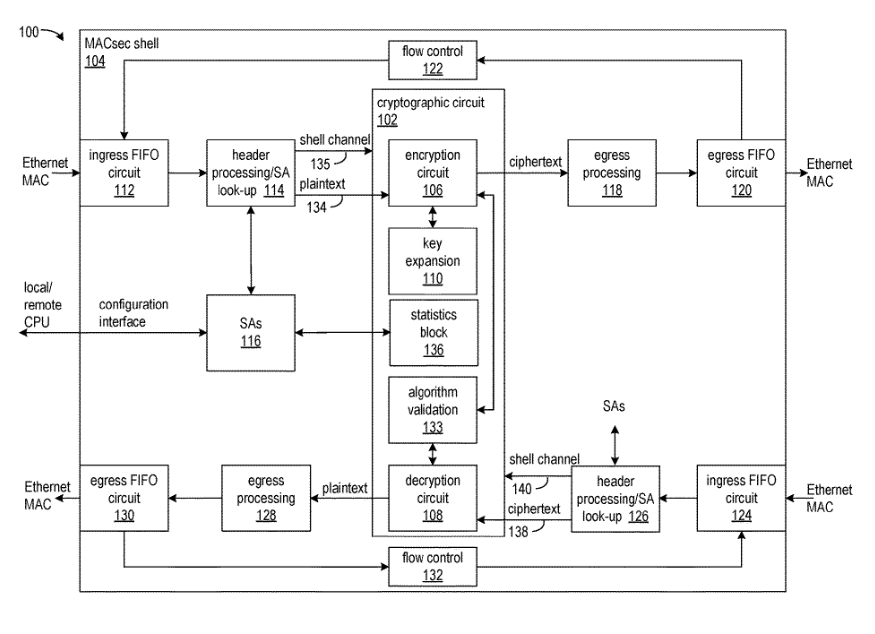
Patent: Cryptographic system - Xilinx

More details: freepatentsonline.com/20200143088.pdf
Patent: Stream FIFO insertion in a compilation flow for a heterogeneous multi-core architecture - Xilinx

More details: freepatentsonline.com/10628622.pdf
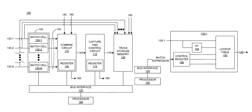
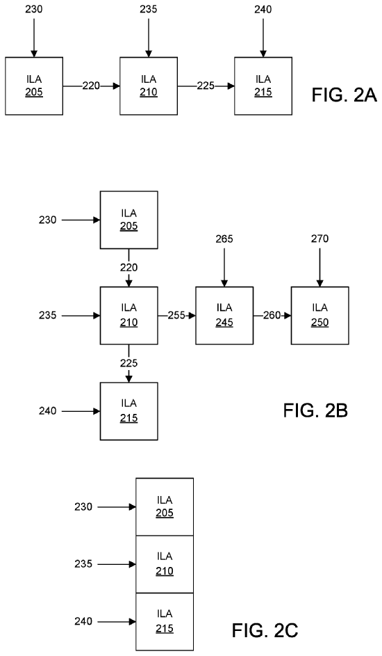
Patent: Modular and stackable integrated logic analyzer - Xilinx

More details: freepatentsonline.com/10627444.pdf
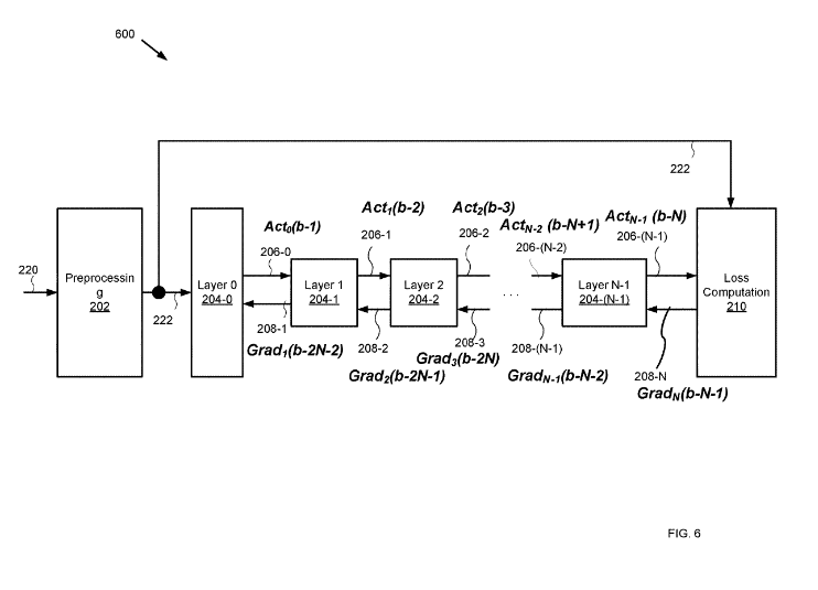
Patent: Architecture Optimized Training of Neural Networks - Xilinx

More details: freepatentsonline.com/20190057305.pdf

• • •

Missing some Tweet in this thread? You can try to force a refresh
 

Keep Current with Underfox

Underfox Profile picture

Stay in touch and get notified when new unrolls are available from this author!

Read all threads

This Thread may be Removed Anytime!

PDF

Twitter may remove this content at anytime! Save it as PDF for later use!

Try unrolling a thread yourself!

how to unroll video
  1. Follow @ThreadReaderApp to mention us!

  2. From a Twitter thread mention us with a keyword "unroll"
@threadreaderapp unroll

Practice here first or read more on our help page!

More from @Underfox3

20 Nov
In this thread, you can more easily find the three parts of the AMD patent list that I published most recently.

Good reading! Image
Read 4 tweets
20 Nov
Finally, after so many setbacks, here's a new list of AMD patents, bringing AMD's latest developments in CPU, GPU, package and more. More details will come soon in the next articles. (3/4 - 4/4)

Follow the thread! Image
Patent: Activation Function Functional Block for Electronic Devices - AMD

More details: freepatentsonline.com/20190180182.pdf ImageImageImageImage
Patent: Speculative instruction wakeup to tolerate draining delay of memory ordering violation check buffers - AMD

Does anyone remember the "zero bubbles" concept? 🦊

More details: freepatentsonline.com/20200319889.pdf ImageImageImageImage
Read 22 tweets
18 Nov
Finally, after so many setbacks, here's a new list of AMD patents, bringing AMD's latest developments in CPU, GPU, package and more. More details will come soon in the next articles. 2/4

Follow the thread! Image
Patent: System and method for scheduling instructions in a multithread simd architecture with a fixed number of registers - AMD

RDNA3...

More details: freepatentsonline.com/20200278947.pdf ImageImageImage
Patent: Region-based image compression and decompression - AMD

This application is a continuation of previous patent application. I'm posting for research and additional reference.

More details: freepatentsonline.com/20200280721.pdf ImageImageImage
Read 19 tweets
17 Nov
Finally, after so many setbacks, here's a new list of AMD patents, bringing AMD's latest developments in CPU, GPU, package and more. More details will come soon in the next articles. 1/4

Follow the thread! 🦊 Image
Patent: Side information for video data transmission - AMD

Methods for performing efficient video compression for wireless VR stream communication...

More details: freepatentsonline.com/20200314434.pdf ImageImageImageImage
Patent: Integrated circuit package with integrated voltage regulator - AMD

The Italian Fortress needs an integrated voltage regulator...🦊

More details: freepatentsonline.com/20200312766.pdf ImageImageImageImage
Read 15 tweets
17 Aug
Here is a new AMD patent list, featuring some of the latest advances developed by AMD in architecture, graphics, packages and more.

Follow the thread! (6/6)
Patent: Runtime localized cooling of high-performance processors - AMD

A dynamic thermal management solution based on SiGe/Si Superlattice Coolers for EHP

More details: freepatentsonline.com/20200201404.pdf
Patent: Secure Computer Vision Processing - AMD

More details: freepatentsonline.com/20200202027.pdf
Read 14 tweets
15 Aug
Here is a new AMD patent list, featuring some of the latest advances developed by AMD in architecture, graphics, packages and more.

Follow the thread! (5/6)
Patent: Multiple Application Cooperative Frame-based GPU Scheduling - AMD

RDNA2...

More details: freepatentsonline.com/20200250787.pdf
Patent: Block Level Rate Control - AMD

Efficient bitrate control of video compression for VR

More details: freepatentsonline.com/20200252611.pdf
Read 20 tweets

Did Thread Reader help you today?

Support us! We are indie developers!


This site is made by just two indie developers on a laptop doing marketing, support and development! Read more about the story.

Become a Premium Member ($3/month or $30/year) and get exclusive features!

Become Premium

Too expensive? Make a small donation by buying us coffee ($5) or help with server cost ($10)

Donate via Paypal Become our Patreon

Thank you for your support!

Follow Us on Twitter!