Underfox Profile picture
22 Jan, 14 tweets, 14 min read
Here is the first list of AMD patents in 2021. Together with this list, I am preparing some articles (yes, there will be several articles) to give a due analysis to the set presented here until the end of this month. Stay tuned!

2/2

Follow the thread! 🦊
Patent: GPU cache management based on locality type detection - AMD

Cache management for MCM GPUs

More details: freepatentsonline.com/20200401529.pdf
Patent: Dynamic Voltage Frequency Scaling Based on Active Memory Barriers - AMD

DVFS hardware that counts numbers of active memory barriers in each of the GPU islands...

One of the essential foundations of EHP.

More details: freepatentsonline.com/20200379543.pdf
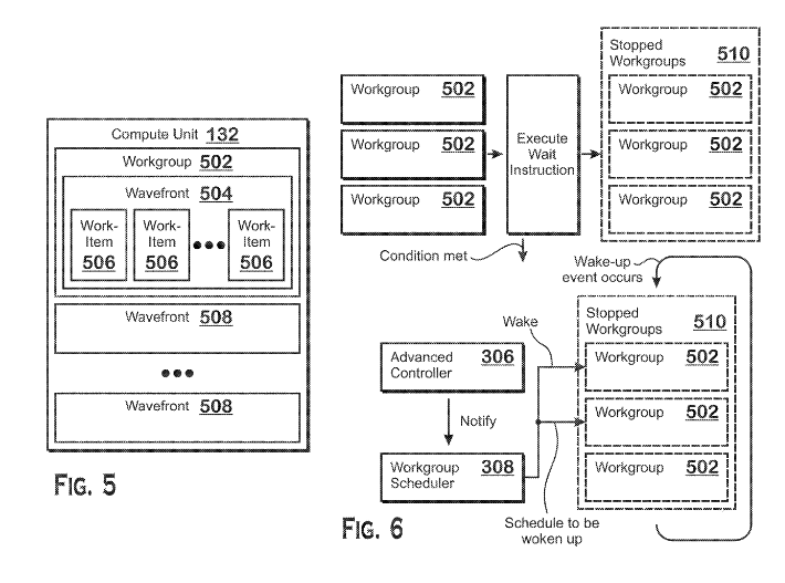
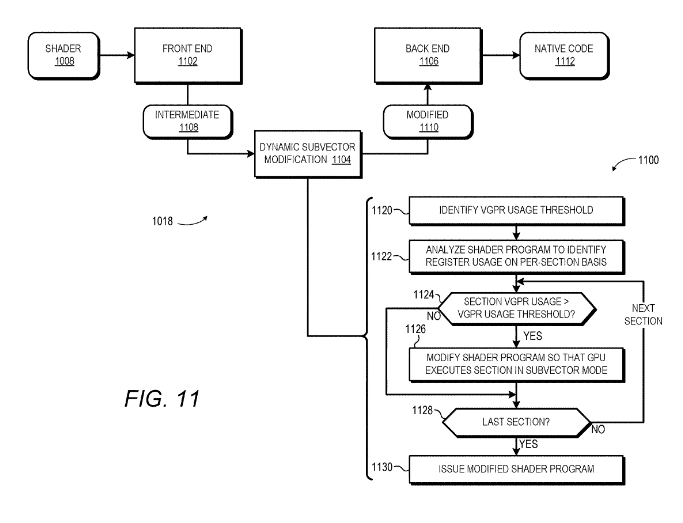
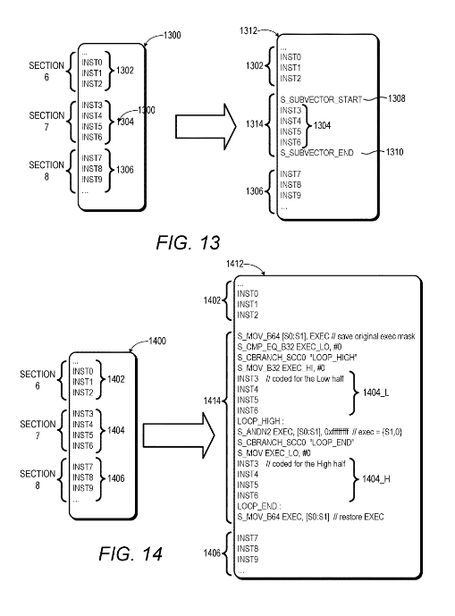
Patent: Software-controlled variable wavefront size execution at GPU - AMD

Ever more fine-grained parallelism for future AMD GPUs via the subvector looping mode

More details: freepatentsonline.com/20190278605.pdf
Patent: Computer resource scheduling using generative adversarial networks - AMD

Exascale resource scheduler for EHP

More details: freepatentsonline.com/20200379814.pdf
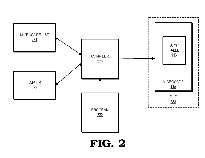
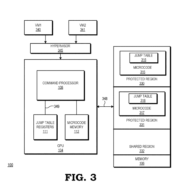
Patent: Processor microcode with embedded jump table - AMD

More details: freepatentsonline.com/20200379792.pdf
Patent: Continuation analysis tasks for GPU task scheduling - AMD

This patent is a continuation of a previous patent, added here for further research purposes.

More details: freepatentsonline.com/20200379802.pdf
Patent: Synchronization mechanism for workgroups - AMD

Synchronization method for MCM GPUs... Also, a key foundation of EHP

More details: freepatentsonline.com/20200379820.pdf
Patent: Command processor based multi dispatch scheduler - AMD

Command processor to orchestrating the ray tracing pipeline, accelerating ray tracing execution.

The 2nd gen AMD Ray Tracing is coming.

More details: freepatentsonline.com/20200380761.pdf
Patent: Receiver design with reduced variation - AMD

More details: freepatentsonline.com/10848135.pdf
Patent: Semiconductor chip with reduced pitch conductive pillars - AMD

More details: freepatentsonline.com/20200365543.pdf
Patent: Accelerating neural networks with one shot skip layer pruning - AMD

More details: freepatentsonline.com/20200364573.pdf
Patent: Replacing pointers with hashing in tree-based page table designs - AMD

A hashing mechanism to reducing the size of page directory entries and page table entries, significantly improving Zen4 performance.

More details: freepatentsonline.com/20200364150.pdf
Patent: Electrical design current throttling - AMD

More details: freepatentsonline.com/20210004068.pdf

• • •

Missing some Tweet in this thread? You can try to force a refresh
 

Keep Current with Underfox

Underfox Profile picture

Stay in touch and get notified when new unrolls are available from this author!

Read all threads

This Thread may be Removed Anytime!

PDF

Twitter may remove this content at anytime! Save it as PDF for later use!

Try unrolling a thread yourself!

how to unroll video
  1. Follow @ThreadReaderApp to mention us!

  2. From a Twitter thread mention us with a keyword "unroll"
@threadreaderapp unroll

Practice here first or read more on our help page!

More from @Underfox3

23 Jan
In this paper is presented PyTorch-Direct, a GPU-centric data access paradigm with a novel circular shift indexing optimization for GNN training to reduce training time, CPU utilization, and power consumption. #PyTorch #DeepLearning

arxiv.org/pdf/2101.07956… ImageImageImageImage
PyTorch-Direct presents a new class of tensor called “unified tensor.” While a unified tensor resides in host memory, its elements can be accessed directly by the GPUs, as if they reside in GPU memory.
To support seamless transition of applications from the original PyTorch to PyTorch-Direct, it's presented a programming interface for using unified tensors, giving consistency with the existing PyTorch GPU tensor declaration mechanism.
Read 5 tweets
22 Jan
Researchers have proposed a new class of accelerators named Self Adaptive Reconfigurable Arrays, which comprise of both a reconfigurable array and a hardware unit capable of determining an optimized configuration for the array at runtime.

arxiv.org/pdf/2101.04799…
Also, it's proposed a neural network called ADAPTNET which recommends an array configuration and dataflow for the current layer parameters.

An integrated custom hardware ADAPTNETX runs ADAPTNET at runtime and reconfigures the array, making the entire accelerator self sufficient.
The SARA accelerator implementation (SAGAR) is capable of providing the same mapping flexibility as a collection of 1024 4×4 arrays working as a distributed system while achieving 3.5x more power efficiency and 3.2x higher compute density than the baseline.
Read 4 tweets
22 Nov 20
Here is Xilinx's long-awaited list of patents, highlighting the latest developments that may be interesting for future AMD projects. (1/3)

Follow the thread! 🦊
Patent: Dynamically structured single instruction, multiple data (SIMD) instructions - Xilinx

This patent could be very interesting applied to future generations of CDNA...

More details: freepatentsonline.com/10824434.pdf
Patent: Method of selecting routing resources in a multi-chip integrated circuit device - Xilinx

More details: freepatentsonline.com/20190258767.pdf
Read 25 tweets
20 Nov 20
In this thread, you can more easily find the three parts of the AMD patent list that I published most recently.

Good reading! Image
Read 4 tweets
20 Nov 20
Finally, after so many setbacks, here's a new list of AMD patents, bringing AMD's latest developments in CPU, GPU, package and more. More details will come soon in the next articles. (3/4 - 4/4)

Follow the thread! Image
Patent: Activation Function Functional Block for Electronic Devices - AMD

More details: freepatentsonline.com/20190180182.pdf ImageImageImageImage
Patent: Speculative instruction wakeup to tolerate draining delay of memory ordering violation check buffers - AMD

Does anyone remember the "zero bubbles" concept? 🦊

More details: freepatentsonline.com/20200319889.pdf ImageImageImageImage
Read 22 tweets
18 Nov 20
Finally, after so many setbacks, here's a new list of AMD patents, bringing AMD's latest developments in CPU, GPU, package and more. More details will come soon in the next articles. 2/4

Follow the thread! Image
Patent: System and method for scheduling instructions in a multithread simd architecture with a fixed number of registers - AMD

RDNA3...

More details: freepatentsonline.com/20200278947.pdf ImageImageImage
Patent: Region-based image compression and decompression - AMD

This application is a continuation of previous patent application. I'm posting for research and additional reference.

More details: freepatentsonline.com/20200280721.pdf ImageImageImage
Read 19 tweets

Did Thread Reader help you today?

Support us! We are indie developers!


This site is made by just two indie developers on a laptop doing marketing, support and development! Read more about the story.

Become a Premium Member ($3/month or $30/year) and get exclusive features!

Become Premium

Too expensive? Make a small donation by buying us coffee ($5) or help with server cost ($10)

Donate via Paypal Become our Patreon

Thank you for your support!

Follow Us on Twitter!