Itineratur Profile picture
27 Nov, 95 tweets, 45 min read
Pues hoy, en el MEGAHILO del viernes, os traigo el análisis de un cuadro muy enigmático que lleva 130 años resistiéndose a ser interpretado #itineraturhilos

“UN BAR EN EL FOLIES-BERGÈRE, modernidad a la Manet" con la colaboración de @DavidBokeh

MEGAHILO 👇
Pero antes dediquemos 10 segundos a observarlo, como si estuvieras delante en la Galería Coultard de Londres.
¡Dentro cuadro!
A partir de ahora MUCHA ATENCIÓN A LOS DETALLES porque no los voy a repetir.

De este cuadro dijo Baudelaire que es como si los detalles se hubieran amotinado.
Es la última gran obra de Manet, pintada cuando intuía su muerte. Nos presenta a una camarera, de nombre Suzon, en su puesto de trabajo del Folies-Bergère.
Suzon está detrás de la barra del bar, y sobre ella hay un maravilloso bodegón con botellas de champán, cerveza Bass (primera vez que una marca registada aparece en el arte) un vaso con rosas y una fuente de mandarinas (para los cocktails).

Abrid foto.
Detrás de Suzon hay un gigantesco espejo.
¿Espejo? ¿Qué espejo? El que llevo aquí... bueno no el espejo cuyo marco os he resaltado con una línea en rojo, Abrid la foto.
Espejo que refleja a Suzon y al público del primer anfiteatro e IMPORTANTE devuelve el reflejo de otros tres espejos

Por eso hay público mirando hacia un lado y el contrario (en palcos opuestos) y por eso las lámparas de gas y los globos eléctricos se reflejan tantas veces
Y junto al reflejo de Suzon, el de un misterioso señor con bigote.
Cuando en mi casa interpretamos este cuadro, durante el confinamiento, nos dimos cuenta de muchos de estos detalles extraños (ojo tengo aparición estelar en el espejo) y de otros.
Por ejemplo que las botellas no coinciden bien con su reflejo.
De las piernas de la trapecista.
De que la mayor parte de lo que vemos detrás de la barra es en realidad un reflejo. imagen @DavidBokeh
Repetimos, menos Suzon, todo lo que está detrás de la barra es un reflejo.

Atención a la imagen @DavidBokeh ha reconstruido para este hilo el reflejo que habría detrás de Suzon
Momento promocional: @DavidBokeh es un artista digital que lleva varios meses realizando vaciados alucinantes de cuadros clásicos, podéis seguirlo en este hilo de alcance internacional.
Seguimos con las dos mayores anomalías de esta obra. Primero vamos con la distancia de Suzon con su reflejo.
Si el reflejo de Suzon hubiera estado bien emplazado debería de aparecer como en este boceto del mismo cuadro pero con otros modelos (no son ni Suzon ni el pintor La Touche - el hombre del bigote era pintor ;)

Este boceto es clave.
Es clave porque vemos cómo su reflejo está detrás y no a un lado. Lo que vemos es que a un lado hay un personaje con bastón (otro pintor, Henri Dupray) y que la barra del bar se termina justo ahí.
También lo vemos en este "El bar del Folies-Bergère" (1878) de Jean-Louis Forain, un pintor muy fiel con los detalles que nos confirma cómo era el escenario real.
Si fuéramos justos con la posición frontal del espectador y de Suzon esos reflejos tendrían que haber sucedido tal que así. Gracias @DavidBokeh de nuevo 👏👏👏
Y si nos ponemos exquisitos también podría haber aparecido el señor con bigote. Como lo hizo aparecer un periódico satírico en la época.

Decían: "Creemos que es nuestro deber corregir esta omisión"
Y la última "anomalía" o rareza, por llamarla de alguna manera sería el rostro de Suzon. Un rostro lánguido y ensimismado.
Aunque pensándolo bien...
¿he dicho ensimismada?.. Oh, wait!

- "En el café"
- "La camarera de Bocks"
- "Rincón de un café concierto"
- "En el bar" (la segunda mujer)

Todas obras de Manet.
Llegado este punto queremos saber ¿verdad? lo lógico sería saber cómo se pintó y el porqué se hizo así.

Dadle al like y al RT mientras os preparo el cómo.
¿Qué cómo se hizo? pues muy fácil, pintó lo que le dio la gana y ya! Por eso es una obra tan moderna, dicen. Es la primera obra que busca la modernidad en la escena, en la disposición, hasta romper con la realidad.

La modernidad de Manet.
Sin embargo la realidad es tozuda, y no parece que sea tan fácil. Ya hay dos teorías que demuestran otra cosa bien distinta.
La primera es la yo llamo del espejo oscilante.

Manet mostraría un respeto estricto con la perspectiva, con un punto de fuga externo muy descentrado y un punto de fuga en la boca de Suzon
Pero eso solo demostraría que los personajes están pintados siguiendo una regla, no están situados al azar en plan donde caigan, lo que nos llevaría a la siguiente pregunta ¿cómo se hizo? ¿cómo lo logró?
Sabemos que Manet estaba ya muy enfermo y que pintó este cuadro sentado en su estudio, había montado una mesa, la había llenado de comida y dispuesto un gran espejo con el que podría haber jugado y/o interpretado las situaciones.
Una vez pintados los motivos frontales solo tenía que pintar el reflejo y para que coincidiera con lo que vemos le bastaba con rotar el espejo sobre el eje central hasta conseguir la perspectiva.

La rosa es la prueba de que se está siendo riguroso
Y de que la posición del reflejo se consigue poniendo el espejo oblicuo sin mover un pelo la posición de Suzon y del hombre del bigote delante de ella que está haciendo de modelo.
Los personajes han sido trasladado con el espejo. Al devolver el espejo a su posición frontal es como si el personaje masculino se trasladara con él y por eso no aparece.
Esta teoría hace de Manet un moderno muy moderno, porque esta situación con dos perspectivas distintas en un mismo plano no se puede dar, solo puede concebirse si estamos viendo dos momentos distintos. Una alteración del espacio y el tiempo (siempre quise decir esto)
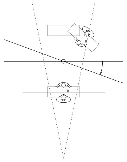
Pero hay otra manera de conseguir una escena así, sería desde una punto de vista muy escorado a la derecha y eligiendo una parte específica de la escena, que dejaría fuera al personaje masculino (ver imagen, el cuadro es lo que hay entre las rayas rojas)
En esta teoría para que el reflejo del hombre aparezca como en el cuadro, como si estuviera hablando con Suzon, no tienen que mirarse, cada uno tiene que mirar hacia un lado distinto.
Tal que así, ni se miran. Abre imagen.
Para en el reflejo aparecer así.

Esta reconstrucción es maravillosa y demuestra la validez de lo propuesto, el cuadro es reconstruible con esas posiciones y ese punto de vista, incluso explica la extraña perspectiva de las botellas.
Es así, vemos que hay una escena completa, de la que Manet, ha recortado la mayoría y se ha quedado con una parte para pintarla. Así consigue que quede fuera el hombre pero se mantiene en el reflejo.
Esta opción es menos moderna ¿verdad? pero mucho menos, ya no hay espacio tiempo ni todo eso, todo sigue una regla.

Aunque si lo piensas bien, gracias a esta técnica de fuera de juego del personaje masculino Manet consigas que todos seamos el hombre de bigote, que no está mal
Ahora solo quedaría explicar el porqué de todo esto ¿Qué nos explica este cuadro? ¿Para qué tanta parafernalia? y sobre todo resolver el dilema ¿Es Manet tan moderno?

Seguid dándole al like y al RT, la continuación aquí, mañana, pero solo si veo que os ha gustado de verdad 😇
A raíz de los primeros comentarios aprovecho para profundizar en la composición de la escena. Los arrepentimientos que aparecen en los rayos X demuestran que el reflejo de Suzon se fue alejando progresivamente
Es decir, que Manet buscaba la manera de evitar ese amontonamiento de figuras, pero siempre siguiendo un método, con rigor, nada de vanguardismo.
Podría haber ido alejando el reflejo progresivamente
Para terminar adoptando el punto de vista del boceto pero con un truco, mantener la frontalidad de Suzon (según teoría 2) o quizás son distintas pruebas del movimiento oblicuo del espejo (teoría 1) las que alejan progresivamente el reflejo de la posición del boceto.
Respecto al fondo, os leo y veo que hay algo de confusión. Lo que vemos es un teatro, el público sentado mirando el espectáculo. Así es como se situaría la barra respecto al teatro. Abrid foto (barra en amarillo)
A ver si así, abrid fotos e inspeccionar el fondo, se distingue bien la escena del teatro.
Y si no os fiais, tenemos estos carteles de la época, donde vemos la sala y hasta una barra, una camarera y un cliente (aunque la disposición no es la misma)
Es el teatro del Folies-Bergère, un teatro concierto (teatro espectáculo) de la época (ojo, no es un cabaret, vamos a dejarlo en "music hall").

Era un sitio muy a la moda, había sido diseñado siguiendo el modelo del Teatro Alhambra de Londres.

📷 Folies- Bergère en 1886.
En el interior tenía un gran espacio cubierto en estilo neo árabe, llamado jardín, con numerosas barras y mesas para sentarse.
Y un teatro para espectáculos musicales, circenses, bailes, canto y de todo tipo.

📷"En el Embajadores" por Degas.
El Folies-Bergère tenía la particularidad de ser el primer local de París con iluminación eléctrica tras la feria de la electricidad que tuvo lugar en 1881 (el año que se pintó en cuadro) son los globos blancos que se reflejan en el espejo.

📷 Feria de la Electricidad (París).
La particularidad de los teatros concierto, según los testimonios de la época, es que aquí se cruzaban todas las clases sociales, digamos que ir a la ópera podía ser algo aburrido.

📷 "Un baile en la ópera" de Jean Louis Forain
Y que la gente buscaba reducir esa distancia social 😉, salir de su palco y dejar ese rollo del mirar y ser mirado en la distancia con anteojos.

📷 "En el palco" de Mary Cassat
📷"El palco" de Mary Cassat
📷 "El palco de la esquina" de Mary Cassat
El tema iba más por pasar a la acción, no sé si me entendéis. Algo más así.
En el "Folies-Bergère" uno se podía lanzar, cruzarse con mujeres desconocidas, presentarse y quién sabe qué más.

📷 "En el Folies-Bergère" de Jean Louis Fourain
Porque en este teatro, como en otros teatros concietos y cafés con espectáculos de París había mujeres no acompañadas

📷 Dibujos de Jean Louis Fourain que hablan por sí solos (el segundo "En el restaurante")
¿Mujeres NO acompañadas? Pero qué escándalo ¡qué me dices!
Lo que lees, que en el Folies-Bergére entraban todos los días hasta 2 mil personas, incluyendo varios cientos de mujeres no acompañadas pre-seleccionadas por el dueño por su belleza y elegancia y que allí se vendía y compraba compañía.

📷 "En el teatro" de Jean Louis Fourain
En la época en que las mujeres accedían a sus primeros puestos laborales algunas completaban sus bajisimos salarios vendiendo sexo.

Era uno de los atractivos, ahora olvidados, de París con el que fantaseaba media Europa.
Para ser "Demoiselle de tienda" había que ser menor de 20 años. En 1900 había no menos de 6000 mujeres trabajando en los grandes almacenes parisinos haciendo jornadas de 11 horas por poco salario.
¿Y las camareras? Pues más de lo mismo.

Guy de Maupassan sobre el Folies-Bergpere, preparados para el testimonio, porque más claro... agua.

"tres mostradores..., tronando tras los cuales se marchitaban tres camareras; maquilladas hasta las cejas, vendían bebida y amor".
Entonces nuestra modelo Suzon era seguramente también una prostituta y el cuadro podría representar una transacción sexual.

Lo que vemos no es mas que la escena previa a esta "Nana" de Manet.
Y lógicamente de la "Olympia" de Manet, en la que Manet pinta la representación de una prostituta cual Venus, el día después, posiblemente recibiendo flores de un cliente satisfecho.
Con la salvedad de que la modelo de la "Olympia" es la más que reconocible Victorine Meurent, modelo, pintora y también amante de Manet.

📷Victorine Meurent
Y Suzon no es mas que la camarera del Folies-Bergère ¿O no?

Pues así entramos en la última parte de este Megahilo, la de los amigos de Manet que aparecen en el cuadro.

Seguid dándole al like y al RT y sigo en un rato.
En el cuadro aparecen varios amigos que estuvieron con Manet en sus últimos tiempos, como Mery Laurent, modelo y amante de Manet, artista de musical, prostituta de lujo, propietaria de salón frecuentado por artistas. Con guantes amarillos.
Tras ella estaría la actriz y también modelo de Manet, Jeanne de Marsy.
Uno de los hombres con bigote del público es el pintor militar y vecino de Manet, Henri Dupray, relegado a papel secundario aunque en el boceto tenía su rol. Ella es posiblemente Mery Laurent, también relegada.
Y el misterioso hombre con bigote, ya hemos dicho que era el también pintor Gaston Latouche, que no se quitaba el sombrero porque... bueno, ya sabéis.
¿Y Suzon? ¿Cómo de "amiga" era? ¿Como consigue relegar a Mery Laurent?

Alguna relación tenía que tener con Manet para llevar el brazalete de la madre de Manet, el que tenía un colgante con el mechón de cabello de Manet.
Brazalete que en la "Olympia" simboliza su relación de "amistad" y en "Un bar del Folies-Bergère" pues no sabemos, también es verdad que Suzon aparece otra vez más en una obra de Manet, vamos que no se vieron cuatro veces para posar.
Sino que seguramente forma parte de un círculo de personas que estuvieron a su alrededor y le visitaban en su estudio. SIGUE
Ya terminando, no hemos cerrado el tema de la modernidad de Manet, técnicamente es un cuadro impresionista, la composición misteriosa pero no vanguardista y la modernidad está en la temática.
Todos los viernes publico un megahilo para que pases un buen rato en Twitter, sígueme si te interesa o visita mi archivo de hilos.
Si te interesa este hilo, te gustará este otro.
Para profundizar en la perspectiva del cuadro, tenéis que leer este artículo.
esprit.presse.fr/article/duve-t…
Y este otro
y este otro
nonsite.org/intentionality…
La foto del cuadro en la galería Coultard proviene de este blog.
artmirrorsart.wordpress.com/2013/12/22/124…
Este artículo en español es también muy bueno, buen resumen. uv.es/hmr/manet/mane…
Hay vídeos con resconstrucciones, como este
Y este de Arte.
arte.tv/sites/webprodu…
Se me olvidaron los avisos de los "likes" los dejo a continuación "Un bar en el Folies-Bergére"
Relacionado con el rostro de Suzon, dejo este epílogo

• • •

Missing some Tweet in this thread? You can try to force a refresh
 

Keep Current with Itineratur

Itineratur Profile picture

Stay in touch and get notified when new unrolls are available from this author!

Read all threads

This Thread may be Removed Anytime!

PDF

Twitter may remove this content at anytime! Save it as PDF for later use!

Try unrolling a thread yourself!

how to unroll video
  1. Follow @ThreadReaderApp to mention us!

  2. From a Twitter thread mention us with a keyword "unroll"
@threadreaderapp unroll

Practice here first or read more on our help page!

More from @itineratur

26 Nov
Os pongo otro ejemplo del tipo de videos que hace @robotanalgota en TikTok donde tiene más de 70mil seguidores, seguidle! @Pedro_Torrijos
Read 4 tweets
25 Nov
Juego ♦♣♥♠ os dejo 📷 de la exposición de Anna-Eva Bergman que hay en Madrid SIN EL TÍTULO por si queréis intentar acertar qué podrían representar en los comentarios (no es pintura abstracta) al final del hilo os dejo las mismas obras con título. 👇 Image
Image
Image
Read 29 tweets
20 Nov
El marketing y la publicidad ya han pasado por varias eras geológicas desde su invención, su evolución es apasionante #itineraturhilos

Esta viernes en un MEGAHILO LARGO LARGO @itineratur productions presenta

MARKETING MODERNO QUE TE CAGAS (I)

👇👇👇
La primera era de la publicidad fue la de los anuncios de productos. Anunciabas un crecepelo o un caldo de gallina porque sí, sin más argumento y ¡funcionaba!
Cuando las marcas se anunciaban en el Metro de Madrid, los anuncios estaban hechos con azulejos, para durar. No existía el concepto de campaña.

Los slogans enternecen por naifs "el mejor del mundo"

📷 Estación de Chamberí (Madrid)
Read 84 tweets
14 Nov
Epílogos sobre "El Principito" y Sain-Exupéry, cual camión escoba voy a ir incluyendo aquí todas las historias secundarias que no entraron en el hilo principal.

👇🦊🌟👇
Primero recordatorio del hilo principal
"El Principito" comparte con "Alicia en el País de las Maravillas" y con Wendy de "Peter Pan" ser un personaje infantil fantástico que quiere volver a su casa pero que tiene que poder pasar una serie de pruebas para conseguirlo.
Read 57 tweets
13 Nov
¿Sabías que el 80% de la gente que ha leído "El Principito" no recuerda cómo termina? os explicamos este fenómeno y otras claves ocultas.

Hoy, en el megahilo del viernes-sábado, "El Principito explicado para hombres", una producción de #itineraturhilos

¡Despegamos!

👇👇👇
Corría el año 1935 y Saint-Éxupery, que era todo un personaje, se había apuntado a un raid aéreo, una carrera de París a Saigón (Vietnam). El que batiera el récord de velocidad era premiado con 140.000 francos.

📷 Saint-Exupéry y André Prevost (su mecánico) antes de partir.
Despegan del aeropuerto de Le Bourget (París) un 29 de diciembre a bordo de un Caudron C.635 Simoun, un avión moderno y seguro.
Read 66 tweets
30 Oct
Hay una tipología olvidada de edificios cuya emocionante historia hay que revindicar, unos edificios construidos para el entretenimiento pero también para aprovecharse de la fuerza centrífuga de la naturaleza

En el megahilo del viernes: CIRCOS ESTABLES #itineraturhilos

👇👇👇
¿Te has preguntado alguna vez porqué los circos son circulares? Parece obvio, pero no lo es.

Resulta que casi todas las pistas de circos tienen 42 pies (13 metros), es un estándar.
Incluso los grandes circos prefieren tener varias pistas circulares, como este circo que se está instalando en el Madison Square Garden de Nueva York (1913).
Read 70 tweets

Did Thread Reader help you today?

Support us! We are indie developers!


This site is made by just two indie developers on a laptop doing marketing, support and development! Read more about the story.

Become a Premium Member ($3/month or $30/year) and get exclusive features!

Become Premium

Too expensive? Make a small donation by buying us coffee ($5) or help with server cost ($10)

Donate via Paypal Become our Patreon

Thank you for your support!

Follow Us on Twitter!