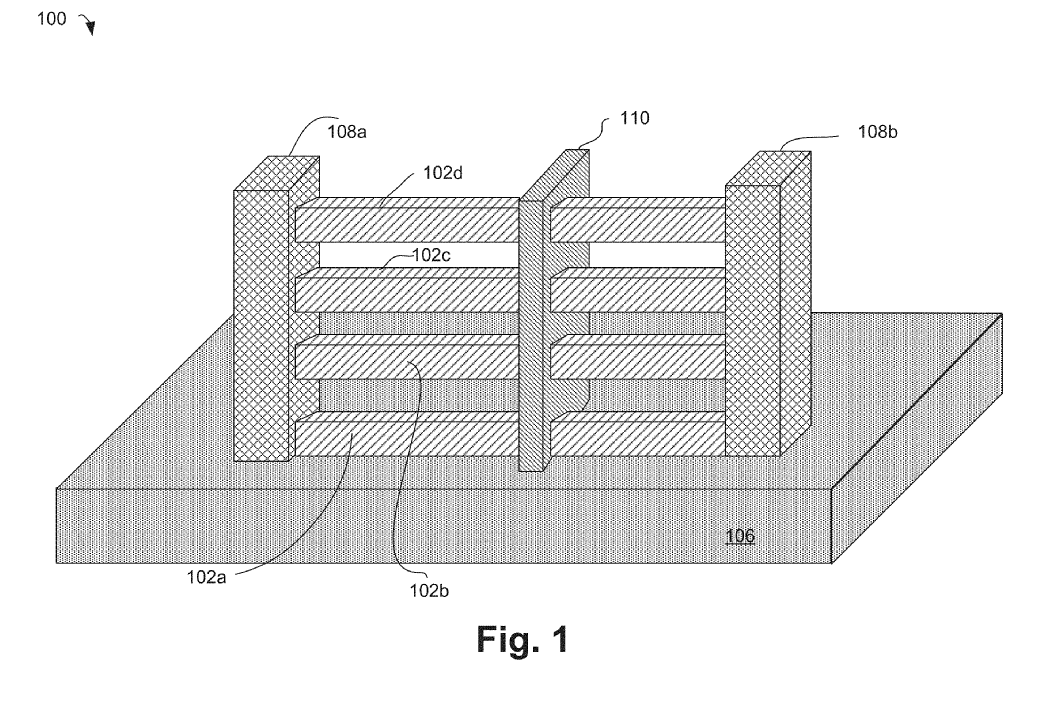
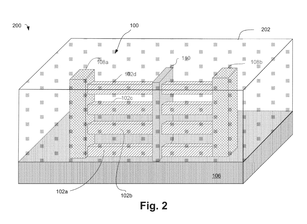
More details: freepatentsonline.com/20190041969.pdf

More details: freepatentsonline.com/20180189192.pdf



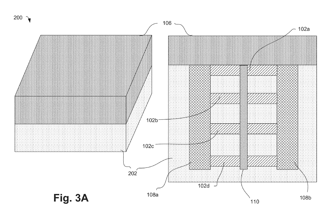
More details: freepatentsonline.com/20190043457.pdf



More details: freepatentsonline.com/20190333990.pdf



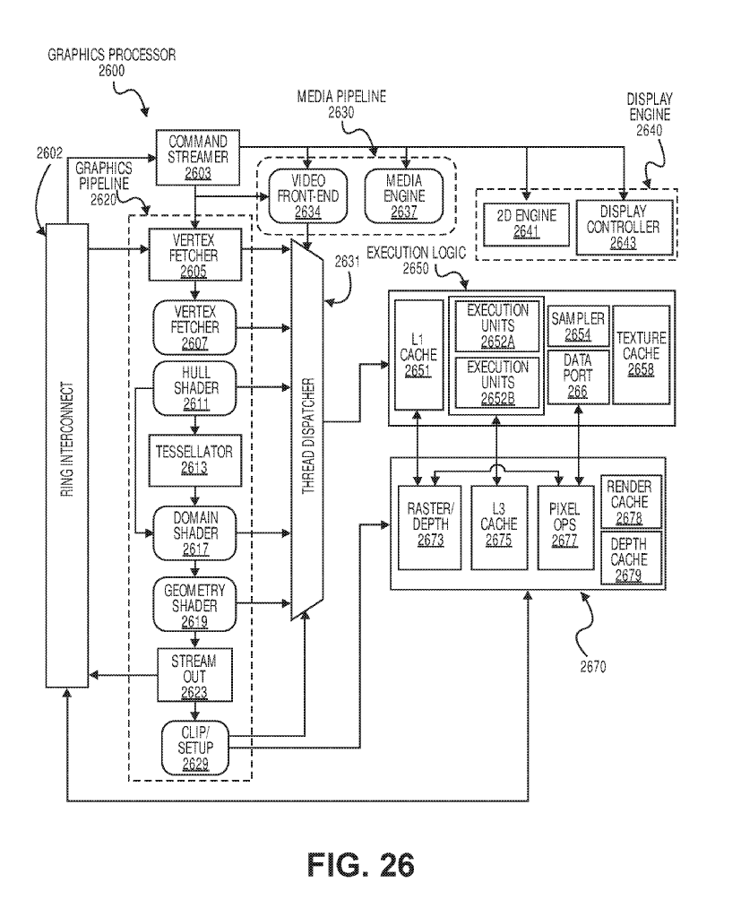
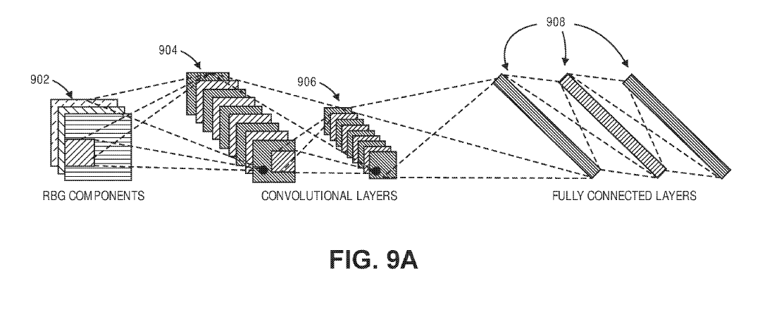
Some optimizations focused on neural networks for future Intel GPUs...
More details: freepatentsonline.com/20190332903.pdf


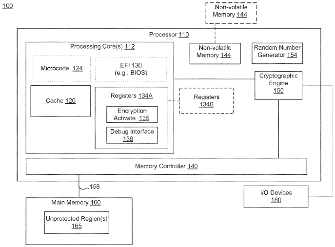
Heterogeneous memory for future Intel CPUs / GPUs...
More details: freepatentsonline.com/20190332545.pdf



More details: freepatentsonline.com/20190324759.pdf


More details: freepatentsonline.com/20190325139.pdf


More details: freepatentsonline.com/20190355675.pdf

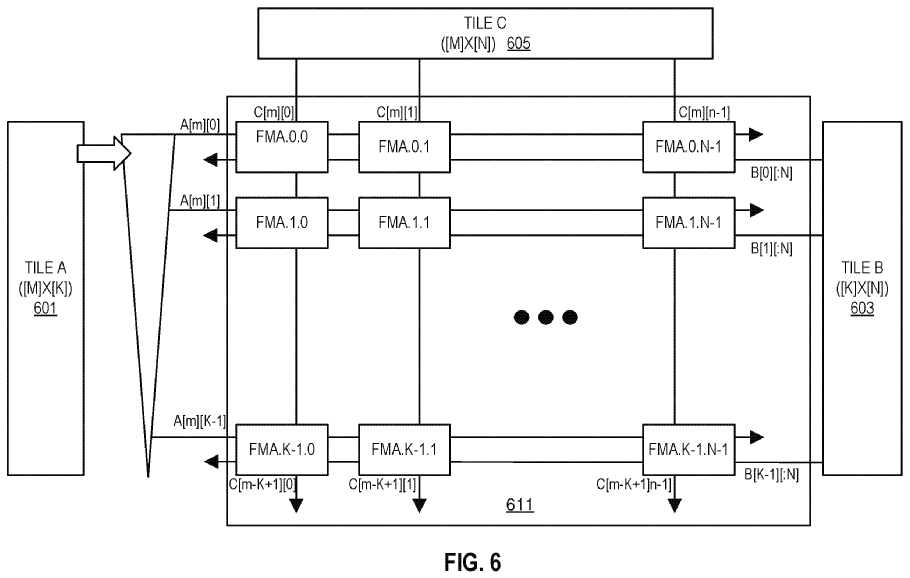
This patent basically summarizes Intel's plans for heterogeneous computing for years to come.
More details: freepatentsonline.com/20190347125.pdf

More details: freepatentsonline.com/20190347104.pdf

More details: freepatentsonline.com/20190347100.pdf



More details: freepatentsonline.com/20190347310.pdf

More details: freepatentsonline.com/20190347213.pdf

More details: freepatentsonline.com/20190347153.pdf

More details: freepatentsonline.com/20190348141.pdf



More details: freepatentsonline.com/20190348540.pdf


More details: freepatentsonline.com/20190348501.pdf


































