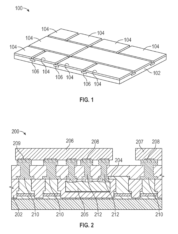
More details: freepatentsonline.com/20190304809.pdf

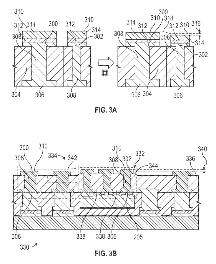
More details: freepatentsonline.com/10431537.pdf



Just another step towards a true direct processor-to-processor optical interconnect.
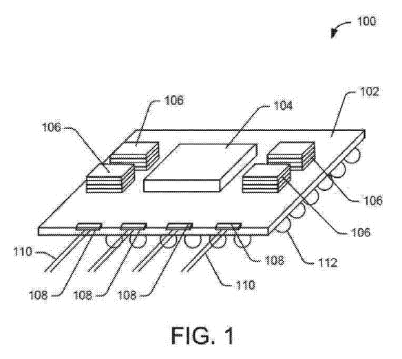
More details: freepatentsonline.com/20190302379.pdf



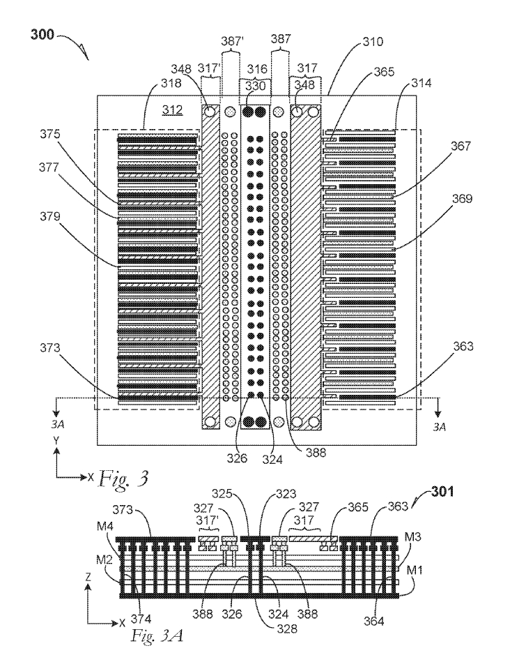
More details: freepatentsonline.com/20190304911.pdf



More details: freepatentsonline.com/20190304923.pdf

More details: freepatentsonline.com/20190304784.pdf



More details: freepatentsonline.com/20190305121.pdf



More details: freepatentsonline.com/20190303294.pdf



More details: freepatentsonline.com/20190305135.pdf


More details: freepatentsonline.com/20190305085.pdf



More details: freepatentsonline.com/20190304876.pdf



More details: freepatentsonline.com/20190312016.pdf



More details: freepatentsonline.com/20190311978.pdf


EMIB over EMIB...
More details: freepatentsonline.com/20190312019.pdf

More details: freepatentsonline.com/20190311960.pdf

More details: freepatentsonline.com/20190311950.pdf


More details: freepatentsonline.com/20190311980.pdf

More details: freepatentsonline.com/20190310911.pdf


More details: freepatentsonline.com/20190311963.pdf


More details: freepatentsonline.com/20190311254.pdf






























