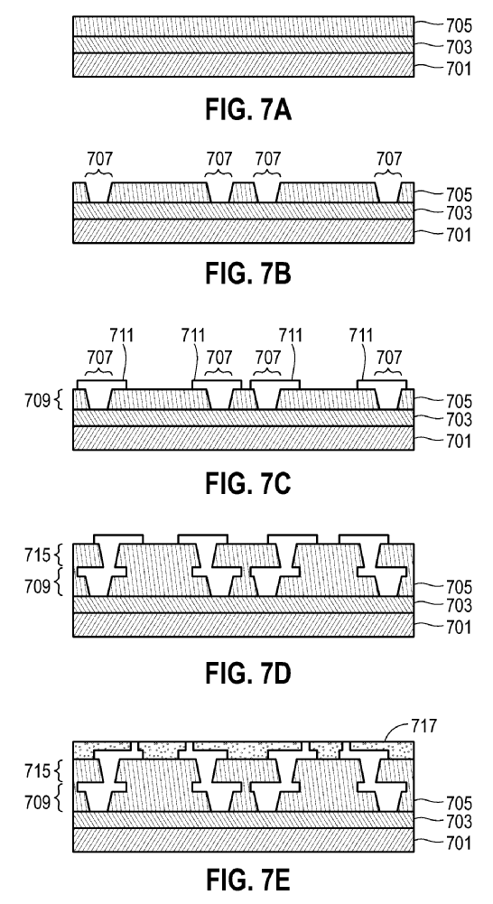
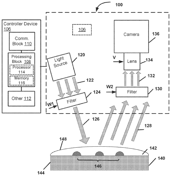
More details: freepatentsonline.com/20190340123.pdf



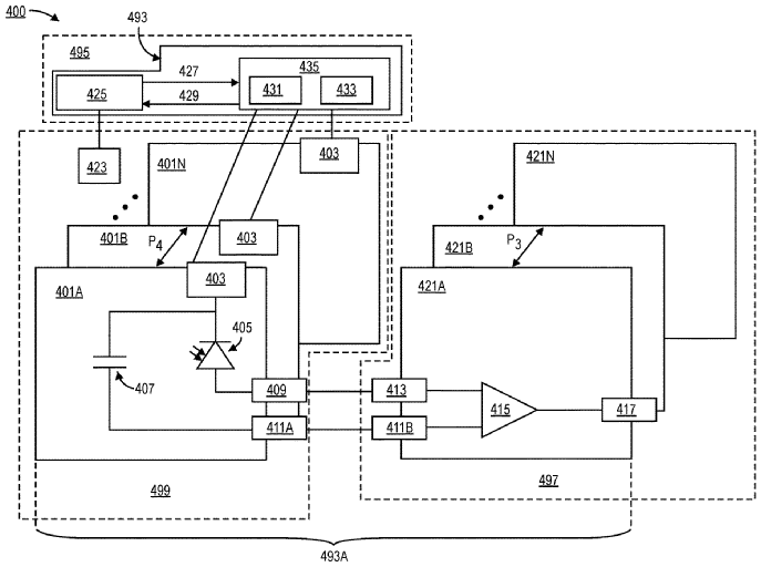
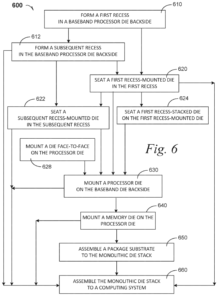
Subsystem abstractions for the next-gen Intel SoCs.
More details: freepatentsonline.com/20190340313.pdf



More details: freepatentsonline.com/20190341356.pdf



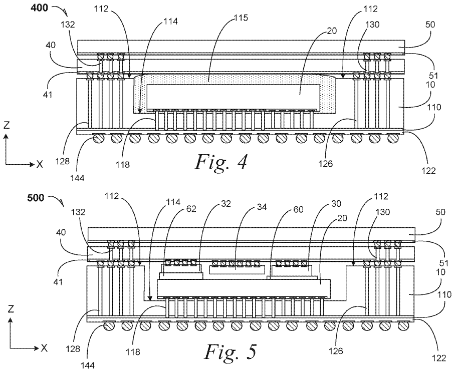
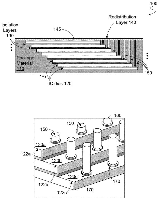
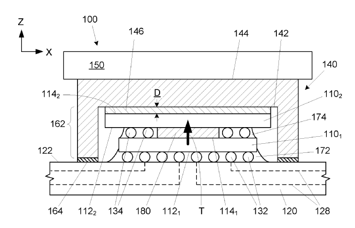
Unidirectional heat transfer device: A very pretty way to call a Peltier module in Foveros...
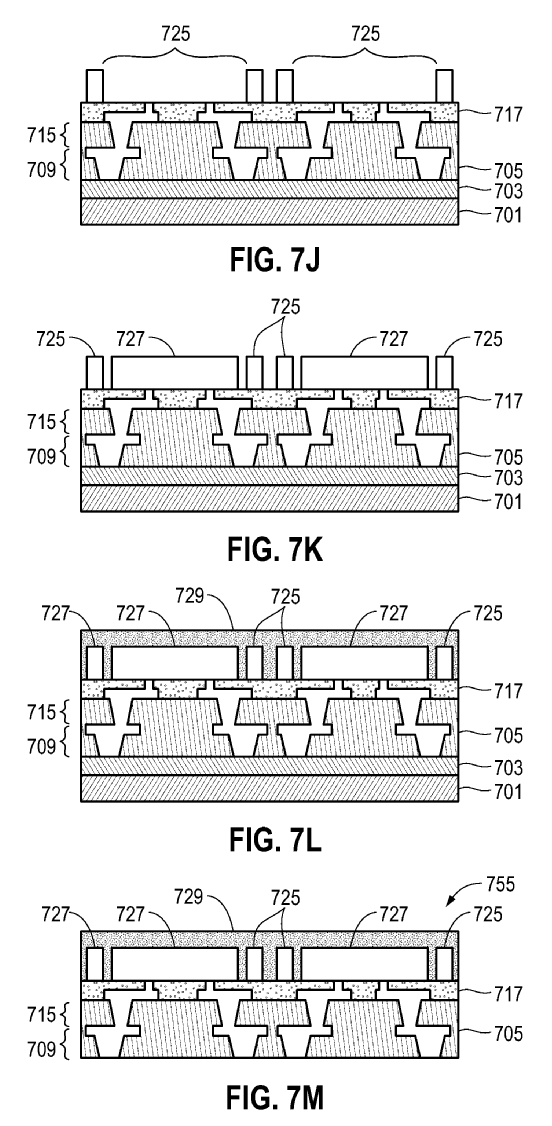
More details: freepatentsonline.com/20190343017.pdf

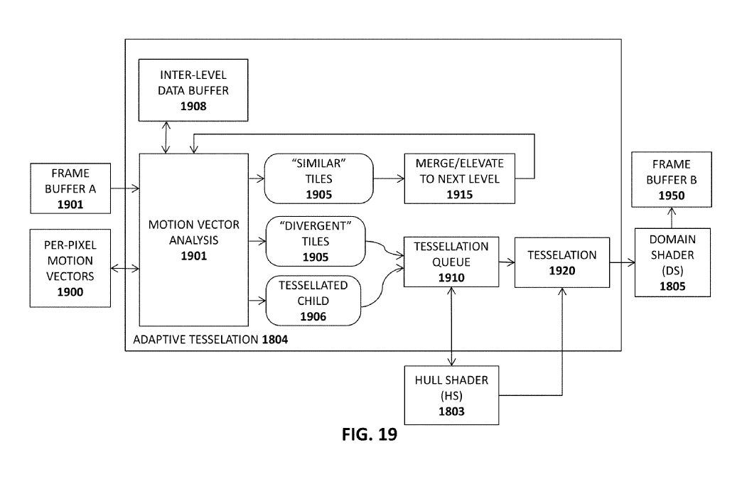
More details: freepatentsonline.com/20190340148.pdf

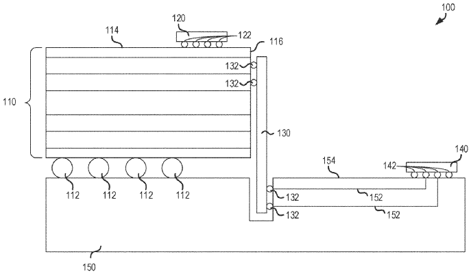
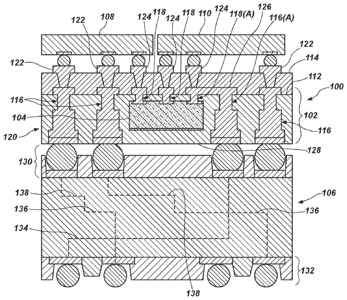
Vertical EMIB for 3D integration... Just Wow!
More details: freepatentsonline.com/20190341349.pdf


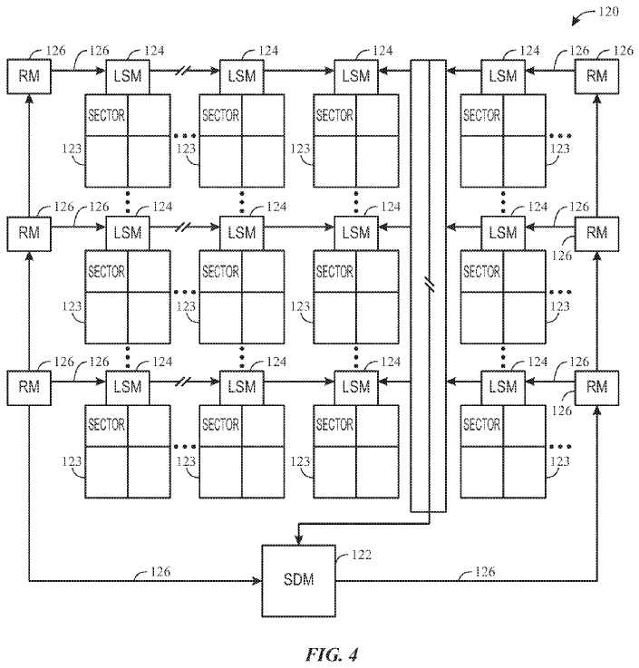
More details: freepatentsonline.com/20190341300.pdf

More details: freepatentsonline.com/20190341271.pdf

More details: freepatentsonline.com/20190341351.pdf


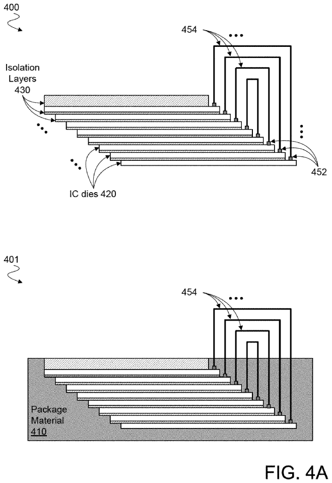
More possibilities around Foveros...
More details: freepatentsonline.com/20190341371.pdf


More details: freepatentsonline.com/20190340812.pdf



More details: freepatentsonline.com/20190342141.pdf



More details: freepatentsonline.com/20190341372.pdf



More details: freepatentsonline.com/20190339212.pdf



More details: freepatentsonline.com/20190339122.pdf


More details: freepatentsonline.com/20190339972.pdf



More details: freepatentsonline.com/20190332277.pdf



More details: freepatentsonline.com/20190332158.pdf


More details: freepatentsonline.com/20190332278.pdf



More details: freepatentsonline.com/20190332378.pdf


More details: freepatentsonline.com/20190333848.pdf


More details: freepatentsonline.com/20190332469.pdf


More details: freepatentsonline.com/20190334010.pdf






























